Каталог запасных частей к технике: ЧСДМ TL-155 (2023). Гидросистема адаптера (TL150.26.43.100)

10
18
17
16
15
14
13
13
12
11
1
9
8
7
6
5
4
3
2
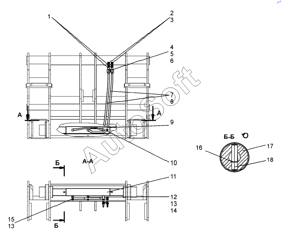
Позиция на иллюстрации | Заводской номер детали | Название детали | |
---|---|---|---|
1 | Ш***9 | Штуцер УДГ1.01.17.019 | |
2 | Б***4 | БРС FIRG 3/4 | |
3 | У***4 | Уплотнение | |
4 | Г***9 | Гайка М10-6H.5.019 | |
5 | Ш***9 | Шайба 10 65Г 019 | |
6 | Т***5 | Скоба | |
7 | Р***П | РВД 12.7-110-1050-0.18-11/11-М22х1.5/М22х1.5-У1-СПП | |
8 | E***D | Фитинг угловой | |
9 | Т***0 | Трубопровод | |
10 | Т***0 | Трубопровод | |
11 | 2***0 | Гидроцилиндр | |
12 | К***2 | Контрогайка М22 | |
13 | У***8 | Уплотнение | |
14 | Т***8 | Штуцер | |
15 | Т***6 | Болт зажимной | |
16 | 2***1 | Кольцо | |
17 | Т***2 | Палец | |
18 | Т***3 | Ось |
Содержащиеся в справочниках-каталогах запасные части и детали не предлагаются к продаже, а носят исключительно информационный характер. В демо-версии артикулы (номера деталей) скрыты. Если вы хотите видеть полные оригинальные номера запчастей, вам необходимо зарегистрироваться на нашем сайте и приобрести подписку по интересующей вас конфигурации, после этого вы сможете встроить онлайн-каталоги на ваш сайт или пользоваться ими из личного кабинета нашего сайта. Обращаем ваше внимание на то, что каталоги содержат информацию об оригинальных заводских номерах и названиях запчастей. База по аналогам в данный момент не реализована. Поиска по VIN-номерам в онлайн-каталоге не предусмотрено. Выбор конкретного каталога осуществляется путем открытия нужного типа техники, марки, модели с учетом года выпуска или модификации.