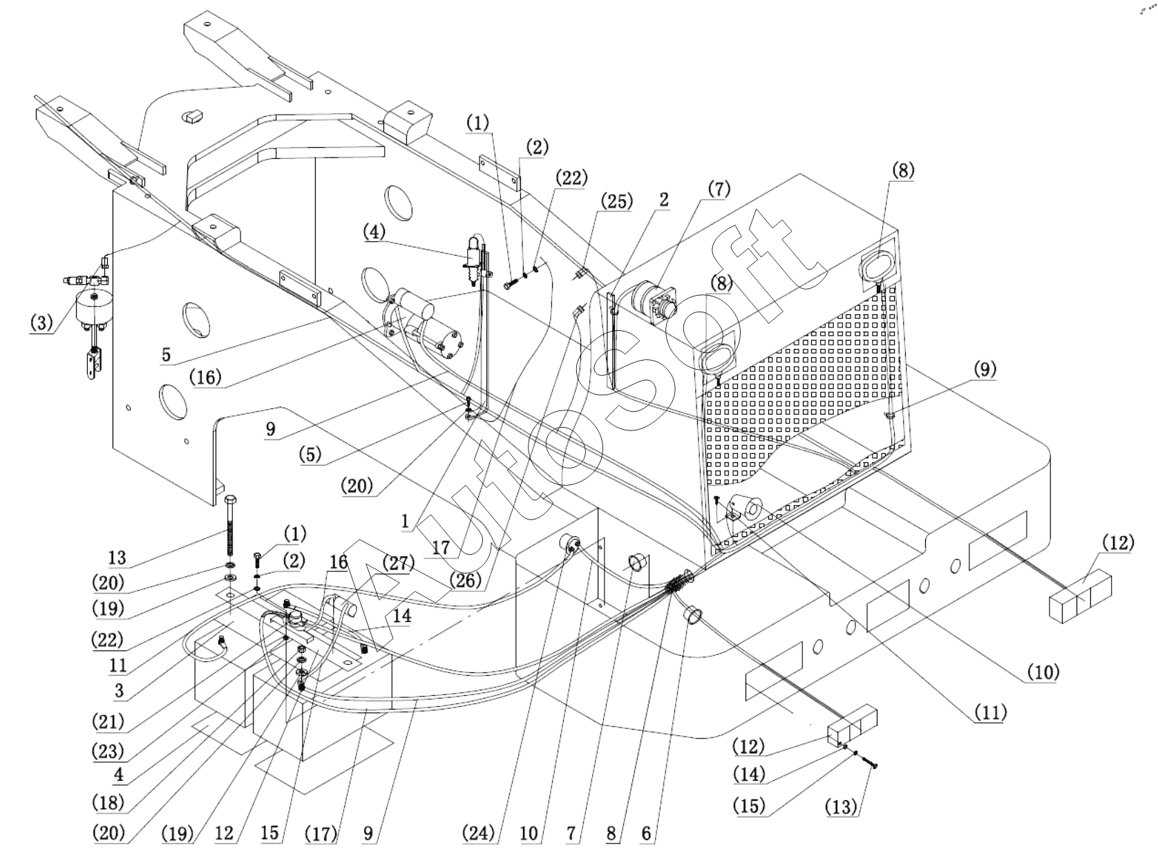
Каталог запасных частей к технике: ЧСДМ WL50 (2023). Разводка электропроводов задней полурамы (при установки двигателя Weichai)

1
2
3
4
5
6
7
8
9
9
10
11
12
13
14
15
16
17
1.1
1.1
1.2
1.2
1.3
1.4
1.5
1.7
1.8
1.8
1.9
1.10
1.11
1.12
1.12
1.13
1.14
1.15
1.16
1.17
1.18
1.19
1.19
1.20
1.20
1.20
1.21
1.22
1.22
1.23
1.24
1.25
1.26
1.27
Позиция на иллюстрации | Заводской номер детали | Название детали | |
---|---|---|---|
1 | D***1 | Кронштейн электромагнитного клапана | |
1.1 | G***0 | Болт | |
1.10 | D***1 | Сигнализация заднего хода | |
1.11 | G***2 | Болт | |
1.12 | D***A | Задний фонарь Sanyu | |
1.13 | G***0 | Винт | |
1.14 | G***5 | Шайба | |
1.15 | G***5 | Пружинная шайба | |
1.16 | D***0 | Стартер в сборе | |
1.17 | D***0 | Аккумулятор в сборе | |
1.18 | G***0 | Гайка | |
1.19 | G***0 | Шайба | |
1.2 | G***8 | Пружинная шайба | |
1.20 | G***0 | Пружинная шайба | |
1.21 | D***0 | Выключатель питания | |
1.22 | G***8 | Шайба | |
1.23 | G***8 | Гайка | |
1.24 | D***0 | Ручной выключатель питания | |
1.25 | D***0 | Датчик давления масла | |
1.26 | D***0 | Датчик температуры воды | |
1.27 | D***1 | Блок предохранителей | |
1.3 | D***A | Аварийный переключатель тормоза | |
1.4 | D***0 | Соленоид остановки двигателя | |
1.5 | G***6 | Болт | |
1.7 | D***0 | Генератор в сборе | |
1.8 | D***1 | Задний рабочий фонарь | |
1.9 | D***0 | Хомут | |
10 | D***0 | Заземление | |
11 | D***9 | Провод заземления аккумулятора | |
12 | D***5 | Прижимная пластина аккумулятора | |
13 | Z***3 | Болт | |
14 | D***8 | Проводка | |
15 | D***2 | Проводка | |
16 | D***3 | Проводка | |
17 | 1***1 | Провод массы двигателя | |
2 | D***0 | Кронштейн генератора | |
3 | Z***7 | Резиновое покрытие | |
4 | Z***1 | Резиновое покрытие | |
5 | D***A | Задний жгут проводов | |
6 | D***7 | Изоляционная втулка | |
7 | Z***4 | Изоляционная втулка | |
8 | Z***6 | Защитная втулка | |
9 | D***7 | Проводка |
Содержащиеся в справочниках-каталогах запасные части и детали не предлагаются к продаже, а носят исключительно информационный характер. В демо-версии артикулы (номера деталей) скрыты. Если вы хотите видеть полные оригинальные номера запчастей, вам необходимо зарегистрироваться на нашем сайте и приобрести подписку по интересующей вас конфигурации, после этого вы сможете встроить онлайн-каталоги на ваш сайт или пользоваться ими из личного кабинета нашего сайта. Обращаем ваше внимание на то, что каталоги содержат информацию об оригинальных заводских номерах и названиях запчастей. База по аналогам в данный момент не реализована. Поиска по VIN-номерам в онлайн-каталоге не предусмотрено. Выбор конкретного каталога осуществляется путем открытия нужного типа техники, марки, модели с учетом года выпуска или модификации.