Каталог запасных частей к технике: ЧСДМ ДЗ-98В (2022). Гидросистема автогрейдера (ДЗ-98М1.43.10.000);Motor grader hydraulic system

28
20
20
20
21
22
23
24
25
26
27
19
19
19
29
30
31
32
33
34
34
35
10
2
2
2
2
3
4
5
6
6
7
8
9
1
11
12
13
14
15
15
15
16
16
16
16
16
17
18
18
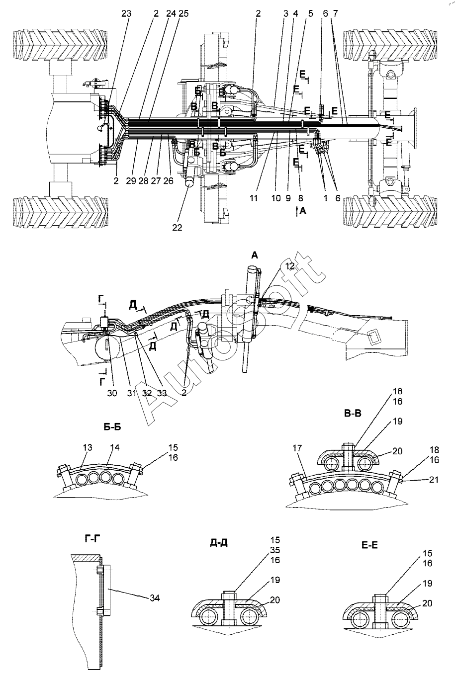
Позиция на иллюстрации | Заводской номер детали | Название детали | |
---|---|---|---|
1 | Р***1 | РВД | |
2 | Р***1 | РВД | |
3 | Д***0 | Гидросистема отвала | |
4 | Д***0 | Труба | |
5 | Д***1 | Труба | |
6 | Р***1 | РВД | |
7 | Д***0 | Труба | |
8 | Д***3 | Труба | |
9 | Д***2 | Труба | |
10 | Д***1 | Труба | |
11 | Д***0 | Труба | |
12 | Д***1 | Установка гидрозамка | |
13 | Д***3 | Прокладка | |
14 | Д***2 | Планка | |
15 | Б***) | Болт | |
16 | Ш***9 | Шайба 10.65Г.019 | |
17 | Д***0 | Планка | |
18 | Б***) | Болт | |
19 | Д***3 | Хомут | |
20 | Д***4 | Прокладка | |
21 | Д***1 | Прокладка | |
22 | Д***0 | Установка гидрозамка | |
23 | З***5 | Заглушка D2612 M16x1,5 | |
24 | Д***0 | Труба | |
25 | Д***1 | Труба | |
26 | Д***1 | Труба | |
27 | Д***0 | Труба | |
28 | Д***1 | Труба | |
29 | Д***0 | Труба | |
30 | Ф***5 | Фитинг угловой 9502 12-М16х1,5 | |
31 | Т***B | Трубк а HTRAB HTR 1 2/9-NAB | |
32 | Ф***5 | Фитинг прямой 9512 12-М12х1,5 | |
33 | Д***4 | Сапун | |
34 | L***0 | Уровнемер | |
34 | S***0 | Уровнемер | |
35 | Г***) | Гайка М10-6H.5.019 S16) |
Содержащиеся в справочниках-каталогах запасные части и детали не предлагаются к продаже, а носят исключительно информационный характер. В демо-версии артикулы (номера деталей) скрыты. Если вы хотите видеть полные оригинальные номера запчастей, вам необходимо зарегистрироваться на нашем сайте и приобрести подписку по интересующей вас конфигурации, после этого вы сможете встроить онлайн-каталоги на ваш сайт или пользоваться ими из личного кабинета нашего сайта. Обращаем ваше внимание на то, что каталоги содержат информацию об оригинальных заводских номерах и названиях запчастей. База по аналогам в данный момент не реализована. Поиска по VIN-номерам в онлайн-каталоге не предусмотрено. Выбор конкретного каталога осуществляется путем открытия нужного типа техники, марки, модели с учетом года выпуска или модификации.