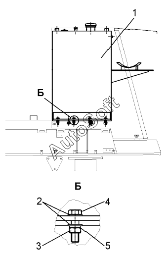
Каталог запасных частей к технике: ЧСДМ ДЗ-98В (2022). Установка топливного бака (ДЗ-98М2.31.40.100);Installing the fuel tank

1
2
3
4
5
Позиция на иллюстрации | Заводской номер детали | Название детали | |
---|---|---|---|
1 | Д***0 | Гайка М8-6H.5.019 | |
2 | Ш***9 | Шайба С.16.02.019 | |
3 | Г***9 | Гайка М16-6H.5.019 | |
4 | Б***9 | Болт М16-6gх60.88.019 | |
5 | Ш***9 | Шайба 16 65Г 019 |
Содержащиеся в справочниках-каталогах запасные части и детали не предлагаются к продаже, а носят исключительно информационный характер. В демо-версии артикулы (номера деталей) скрыты. Если вы хотите видеть полные оригинальные номера запчастей, вам необходимо зарегистрироваться на нашем сайте и приобрести подписку по интересующей вас конфигурации, после этого вы сможете встроить онлайн-каталоги на ваш сайт или пользоваться ими из личного кабинета нашего сайта. Обращаем ваше внимание на то, что каталоги содержат информацию об оригинальных заводских номерах и названиях запчастей. База по аналогам в данный момент не реализована. Поиска по VIN-номерам в онлайн-каталоге не предусмотрено. Выбор конкретного каталога осуществляется путем открытия нужного типа техники, марки, модели с учетом года выпуска или модификации.