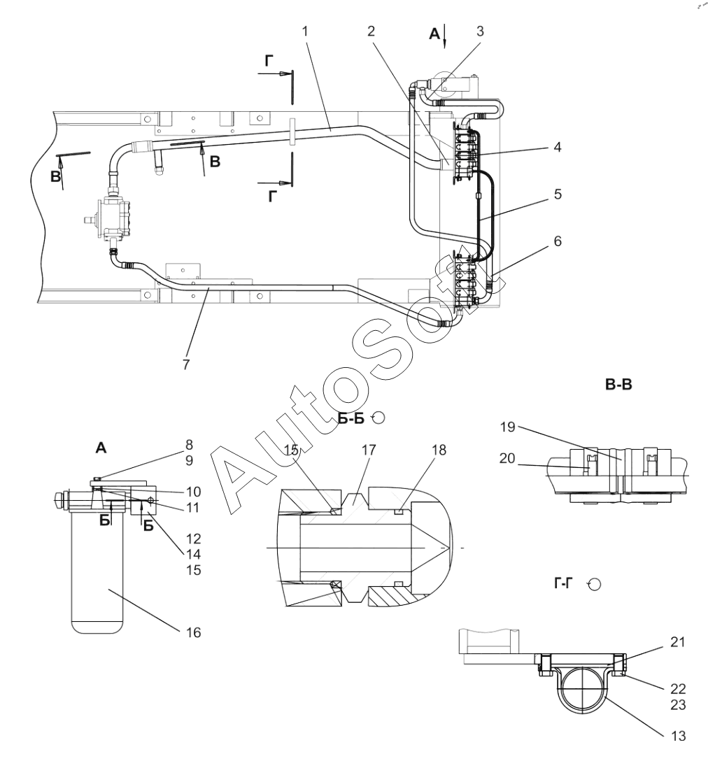
Каталог запасных частей к технике: ЧСДМ ДЗ-98В (2022). Гидросистема гидрораспределителя (ДЗ-98М1.46.10.000);Hydraulic system hydraulic distributor

12
23
22
21
20
19
18
17
16
15
15
14
13
1
11
10
9
8
7
6
5
4
3
2
Позиция на иллюстрации | Заводской номер детали | Название детали | |
---|---|---|---|
1 | Д***0 | Труба | |
2 | Д***8 | Шланг | |
3 | Р***1 | РВД 19-85-850-0.24-11/11.90М33х2/М33х2-У1 | |
4 | Д***0 | Клапан | |
5 | Р***1 | РВД 19-85-1050-0.24-11.90/11.90М33х2/М33х2-У1 | |
6 | Р***1 | РВД 19-85-1650-0.24-11/11.90М33х2/М33х2-У1 | |
7 | Р***1 | РВД 19-85-2500-0.24-11.90/11.90М33х2/М33х2-У1 | |
8 | Б***9 | Болт М12-6gx50.58.019 | |
9 | Ш***9 | Шайба 12 65Г 019 | |
10 | Д***1 | Планка | |
11 | Д***2 | Планка | |
12 | Д***0 | Угольник | |
13 | Д***1 | Хомут | |
14 | 0***7 | Гайка | |
15 | К***2 | Кольцо 040-045-30-2-2 | |
16 | Ф***5 | Фильтр линейный ФЛ1.1.32х25 | |
17 | Д***8 | Штуцер | |
18 | К***2 | Кольцо 039-045-36-2-2 | |
19 | Д***3 | Шланг | |
20 | Х***6 | Хомут 1Л 40-60-6 | |
21 | Д***2 | Прокладка | |
22 | Б***9 | Болт М10-6gх20.58.019 | |
23 | Ш***9 | Шайба 10 65Г 019 |
Содержащиеся в справочниках-каталогах запасные части и детали не предлагаются к продаже, а носят исключительно информационный характер. В демо-версии артикулы (номера деталей) скрыты. Если вы хотите видеть полные оригинальные номера запчастей, вам необходимо зарегистрироваться на нашем сайте и приобрести подписку по интересующей вас конфигурации, после этого вы сможете встроить онлайн-каталоги на ваш сайт или пользоваться ими из личного кабинета нашего сайта. Обращаем ваше внимание на то, что каталоги содержат информацию об оригинальных заводских номерах и названиях запчастей. База по аналогам в данный момент не реализована. Поиска по VIN-номерам в онлайн-каталоге не предусмотрено. Выбор конкретного каталога осуществляется путем открытия нужного типа техники, марки, модели с учетом года выпуска или модификации.