Каталог запасных частей к технике: ЧСДМ ДЗ-98В (2022). Гидросистема бокового отвала (ДЗ-98Б0.43.10.000);Side mouldboard hydraulic system

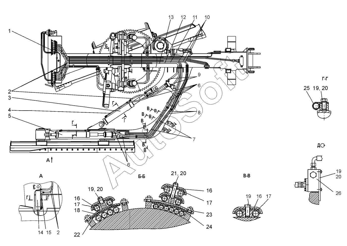
14
26
26
25
24
23
22
21
20
20
20
20
19
19
19
19
18
17
17
17
16
16
16
15
1
13
12
11
10
9
8
7
6
6
5
4
3
2
2
Позиция на иллюстрации | Заводской номер детали | Название детали | |
---|---|---|---|
1 | Д***4 | Установка гидрораспределителя | |
2 | Р***1 | РВД 15,9-100-1050-0,2-11/ 11.М27x1,5/М27x1,5-У1 | |
3 | Г***0 | Гидроцилиндр | |
4 | Д***0 | Труба | |
5 | Г***0 | Гидроцилиндр | |
6 | Р***1 | РВД 15,9-100-1650-0,2-11/ 11.М27x1,5/М27x1,5-У1 | |
7 | Д***0 | Труба | |
8 | Д***0 | Труба | |
9 | Р***1 | РВД 15,9-100-1050-0,2-11/11.90-М27x1,5/М27x1,5-У1 | |
10 | Д***3 | Труба | |
11 | Д***2 | Труба | |
12 | Д***1 | Труба | |
13 | Д***0 | Труба | |
14 | Г***0 | Гидроцилиндр | |
15 | Д***0 | Труба | |
16 | Д***3 | Хомут | |
17 | Д***4 | Прокладка | |
18 | Д***0 | Планка | |
19 | Б***) | Болт М10-6gх20.58.019(S16) | |
20 | Ш***9 | Шайба 10.65Г.019 | |
21 | Б***) | Болт М10-6gх45 .58.019(S16) | |
22 | Д***3 | Прокладка | |
23 | Д***0 | Планка | |
24 | Д***1 | Прокладка | |
25 | 0***1 | Хомут | |
26 | Г***0 | Блок клапанов | |
26 | Д***0 | Блок предохранителей |
Содержащиеся в справочниках-каталогах запасные части и детали не предлагаются к продаже, а носят исключительно информационный характер. В демо-версии артикулы (номера деталей) скрыты. Если вы хотите видеть полные оригинальные номера запчастей, вам необходимо зарегистрироваться на нашем сайте и приобрести подписку по интересующей вас конфигурации, после этого вы сможете встроить онлайн-каталоги на ваш сайт или пользоваться ими из личного кабинета нашего сайта. Обращаем ваше внимание на то, что каталоги содержат информацию об оригинальных заводских номерах и названиях запчастей. База по аналогам в данный момент не реализована. Поиска по VIN-номерам в онлайн-каталоге не предусмотрено. Выбор конкретного каталога осуществляется путем открытия нужного типа техники, марки, модели с учетом года выпуска или модификации.