Каталог запасных частей к технике: ЧСДМ ДЗ-98В (2022). Коробка передач (ДЗ-98.10.04.000);Gearbox

38
26
27
28
29
30
31
32
33
33
34
35
36
37
25
39
40
41
42
43
44
45
46
47
48
49
13
2
3
3
4
4
5
6
7
7
8
9
10
10
11
12
1
14
14
15
15
16
16
16
17
17
17
18
18
18
19
20
20
21
22
23
24
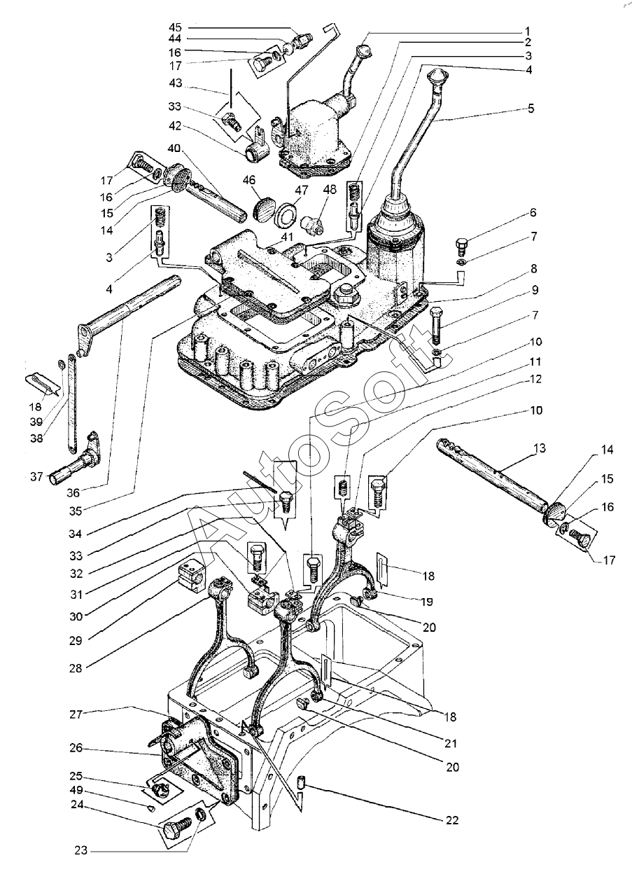
Позиция на иллюстрации | Заводской номер детали | Название детали | |
---|---|---|---|
1 | Д***0 | Механизм переключения реверса | |
2 | Д***1 | Прокладка | |
3 | Д***2 | Пружина | |
4 | Д***5 | Фиксатор | |
5 | Д***0 | Механизм переключения передач | |
6 | Б***9 | Болт М10-6gх30.58.019 | |
7 | Ш***9 | Шайба 10.65Г.069 | |
8 | Д***4 | Прокладка | |
9 | Б***9 | Болт М10х90.58.019 | |
10 | Б***9 | Болт М12-6gх35.58.019 | |
11 | В***9 | Винт М10-8gх20.22Н.019 | |
12 | 0***3 | Планка | |
13 | Д***5 | Валик | |
14 | Д***0 | Прокладка | |
15 | Д***9 | Крышка | |
16 | Ш***9 | Шайба 8.65Г.069 | |
17 | Б***9 | Болт М8-6gх50.56.019 | |
18 | Ш***0 | Шплинт 2х20 | |
19 | Д***1 | Вилка | |
20 | Д***1 | Сухарик | |
21 | Д***1 | Вилка | |
22 | Д***7 | Штифт | |
23 | Ш***9 | Шайба 12.65Г.069 | |
24 | Б***9 | Болт М12-6gх30.58.019 | |
25 | М***6 | Масленка 2.3.45.Ц6 | |
26 | Д***0 | Кронштейн в сборе | |
27 | Д***4 | Прокладка | |
28 | Д***0 | Вилка в сборе | |
29 | Д***1 | Цанга | |
30 | Д***9 | Цанга | |
31 | Б***9 | Болт М12-6gх40.58.019 | |
32 | 0***3 | Планка | |
33 | Д***1 | Винт стопорный | |
34 | П***6 | Проволока 1,6 | |
35 | Д***9 | Прокладка | |
36 | Д***0 | Валик в сборе | |
37 | Д***0 | Валик | |
38 | Д***4 | Тяга | |
39 | Ш***9 | Шайба С12.02 019 | |
40 | Д***8 | Валик | |
41 | Д***1 | Крышка | |
42 | Д***0 | Рычаг | |
43 | П***6 | Проволока 1,6 | |
44 | Д***3 | Корпус | |
45 | Д***4 | Сапун | |
46 | Д***9 | Прокладка | |
47 | Д***2 | Стакан | |
48 | В***В | Выключатель | |
49 | 2***2 | Колпачок пресс-масленки |
Содержащиеся в справочниках-каталогах запасные части и детали не предлагаются к продаже, а носят исключительно информационный характер. В демо-версии артикулы (номера деталей) скрыты. Если вы хотите видеть полные оригинальные номера запчастей, вам необходимо зарегистрироваться на нашем сайте и приобрести подписку по интересующей вас конфигурации, после этого вы сможете встроить онлайн-каталоги на ваш сайт или пользоваться ими из личного кабинета нашего сайта. Обращаем ваше внимание на то, что каталоги содержат информацию об оригинальных заводских номерах и названиях запчастей. База по аналогам в данный момент не реализована. Поиска по VIN-номерам в онлайн-каталоге не предусмотрено. Выбор конкретного каталога осуществляется путем открытия нужного типа техники, марки, модели с учетом года выпуска или модификации.