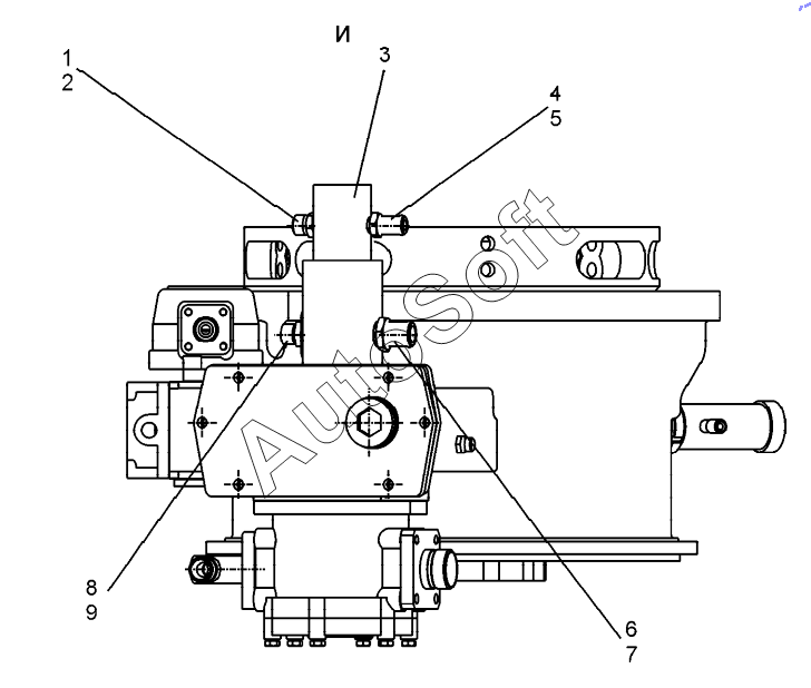
Каталог запасных частей к технике: ЧСДМ ДЗ-98В (2022). Редуктор промежуточный (ДЗ-98В.10.06.000, ДЗ-98В.10.06.000-01);Intermediate reduction gear

1
2
3
4
5
6
7
8
9
Позиция на иллюстрации | Заводской номер детали | Название детали | |
---|---|---|---|
1 | 0***3 | Штуцер | |
2 | U***8 | Уплотнение | |
3 | C***0 | Гидронасос | |
4 | 0***2 | Штуцер | |
5 | У***2 | Уплотнение | |
6 | 0***1 | Штуцер | |
7 | У***3 | Уплотнение USIT M33 | |
8 | 0***4 | Штуцер | |
9 | У***7 | Уплотнение |
Содержащиеся в справочниках-каталогах запасные части и детали не предлагаются к продаже, а носят исключительно информационный характер. В демо-версии артикулы (номера деталей) скрыты. Если вы хотите видеть полные оригинальные номера запчастей, вам необходимо зарегистрироваться на нашем сайте и приобрести подписку по интересующей вас конфигурации, после этого вы сможете встроить онлайн-каталоги на ваш сайт или пользоваться ими из личного кабинета нашего сайта. Обращаем ваше внимание на то, что каталоги содержат информацию об оригинальных заводских номерах и названиях запчастей. База по аналогам в данный момент не реализована. Поиска по VIN-номерам в онлайн-каталоге не предусмотрено. Выбор конкретного каталога осуществляется путем открытия нужного типа техники, марки, модели с учетом года выпуска или модификации.