Каталог запасных частей к технике: ЧСДМ ДЗ-98В (2022). Установка силовая (ДЗ-98В9.11.00.000), (ДЗ-98В9.11.00.000-01);Power plant

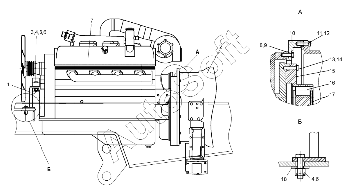
9
18
17
16
15
14
13
12
11
10
1
8
7
7
6
6
5
4
4
3
2
Позиция на иллюстрации | Заводской номер детали | Название детали | |
---|---|---|---|
1 | Д***0 | Опора | |
2 | Д***0 | Блок трансмиссии | |
3 | Д***3 | Болт | |
4 | Г***9 | Гайка М16-6Н.5.019 | |
5 | Ш***9 | Шайба С16.02.019 | |
6 | Ш***9 | Шплинт 4х36.019 | |
7 | Я***3 | Двигатель | |
7 | Я***6 | Двигатель | |
8 | А***1 | Шайба | |
9 | 0***5 | Болт | |
10 | Д***0 | Кольцо | |
11 | Д***3 | Болт | |
12 | Ш***9 | Шайба 12.65Г.019 | |
13 | А***3 | Шайба | |
14 | Б***) | Болт М10-6gх50.58.019 (S16) | |
15 | Д***1 | Полумуфта наружная | |
16 | Д***1 | Палец резиновый | |
17 | Д***2 | Кольцо пружинное | |
18 | Д***2 | Подкладка |
Содержащиеся в справочниках-каталогах запасные части и детали не предлагаются к продаже, а носят исключительно информационный характер. В демо-версии артикулы (номера деталей) скрыты. Если вы хотите видеть полные оригинальные номера запчастей, вам необходимо зарегистрироваться на нашем сайте и приобрести подписку по интересующей вас конфигурации, после этого вы сможете встроить онлайн-каталоги на ваш сайт или пользоваться ими из личного кабинета нашего сайта. Обращаем ваше внимание на то, что каталоги содержат информацию об оригинальных заводских номерах и названиях запчастей. База по аналогам в данный момент не реализована. Поиска по VIN-номерам в онлайн-каталоге не предусмотрено. Выбор конкретного каталога осуществляется путем открытия нужного типа техники, марки, модели с учетом года выпуска или модификации.