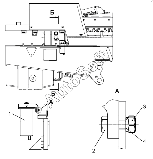
Каталог запасных частей к технике: ЧСДМ ДЗ-98В (2022). Установка топливного фильтра (ДЗ-98М2.31.40.200);Installing the fuel filter

1
2
3
4
Позиция на иллюстрации | Заводской номер детали | Название детали | |
---|---|---|---|
1 | 2***Б | Фильтр грубой очистки топлива | |
2 | Б***9 | Болт М8-6gх25.58.019 | |
3 | Д***0 | Гайка М8-6H.5.019 | |
4 | Ш***9 | Шайба 8 65Г 019 |
Содержащиеся в справочниках-каталогах запасные части и детали не предлагаются к продаже, а носят исключительно информационный характер. В демо-версии артикулы (номера деталей) скрыты. Если вы хотите видеть полные оригинальные номера запчастей, вам необходимо зарегистрироваться на нашем сайте и приобрести подписку по интересующей вас конфигурации, после этого вы сможете встроить онлайн-каталоги на ваш сайт или пользоваться ими из личного кабинета нашего сайта. Обращаем ваше внимание на то, что каталоги содержат информацию об оригинальных заводских номерах и названиях запчастей. База по аналогам в данный момент не реализована. Поиска по VIN-номерам в онлайн-каталоге не предусмотрено. Выбор конкретного каталога осуществляется путем открытия нужного типа техники, марки, модели с учетом года выпуска или модификации.