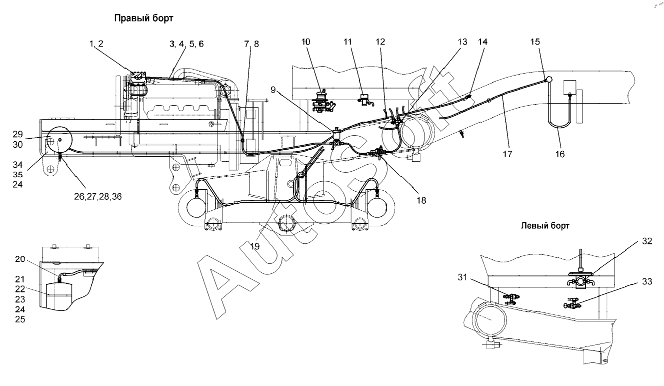
Каталог запасных частей к технике: ЧСДМ ДЗ-98В (2022). Система пневматическая (ДЗ-98М2.42.10.000);Pneumatic system

28
20
21
22
23
24
24
25
26
27
19
29
30
31
32
33
34
35
36
10
2
3
4
5
6
7
8
9
1
11
12
13
14
15
16
17
18
Позиция на иллюстрации | Заводской номер детали | Название детали | |
---|---|---|---|
1 | Д***0 | Установка компрессора | |
2 | У***р | Угольник ввертный 18х18 компрессора 2-х цилиндр | |
3 | Д***6 | Трубка | |
4 | В***а | Втулка | |
5 | М***я | Муфта D12 медная техническая | |
6 | Г***2 | Гайка накидная М18х1.5 тормоз трубки D12 | |
7 | 0***2 | Хомут | |
8 | Д***8 | Прокладка | |
9 | Д***0 | Противозамерзатель | |
10 | Д***0 | Тормозной кран | |
11 | Д***0 | Кнопка пневмозащелки | |
12 | Т***2 | Тройник 9540 12 | |
13 | Д***0 | Двойной защитный клапан | |
14 | Ф***5 | Фитинг угловой 9502 12-М16х1.5 | |
15 | Ф***5 | Фитинг прямой 9512 12-М12х1.5 | |
16 | Р***П | РНД 10-4.4-1070-0,08-54/54-М18x1,5/М18x1,5-У1-СП | |
17 | Т***а | Трубка | |
18 | Д***0 | Регулятор давления | |
19 | Д***0 | Пневморазводка мостов | |
20 | Ф***5 | Фитинг угловой 9502 12-М22х1.5 | |
21 | Д***3 | Хомут | |
22 | Б***9 | Болт М10-6gx40.58.019 | |
23 | Г***9 | Гайка М10-6Н.5.019 | |
24 | Ш***9 | Шайба 10.65Г.069 | |
25 | Ш***9 | Шайба | |
26 | 0***1 | Прокладка | |
27 | Д***1 | Штуцер | |
28 | 2***Б | Краник проходной | |
29 | D***5 | Заглушка | |
30 | А***2 | Рессивер | |
31 | Д***0 | Клапан двухмагистральный | |
32 | Д***0 | Аварийный тормоз | |
33 | Д***0 | Клапан двухмагистральный | |
34 | Д***0 | Кронштейн ресивера | |
35 | Б***9 | Болт М10-6gx20.58.019 | |
36 | Д***2 | Штуцер |
Содержащиеся в справочниках-каталогах запасные части и детали не предлагаются к продаже, а носят исключительно информационный характер. В демо-версии артикулы (номера деталей) скрыты. Если вы хотите видеть полные оригинальные номера запчастей, вам необходимо зарегистрироваться на нашем сайте и приобрести подписку по интересующей вас конфигурации, после этого вы сможете встроить онлайн-каталоги на ваш сайт или пользоваться ими из личного кабинета нашего сайта. Обращаем ваше внимание на то, что каталоги содержат информацию об оригинальных заводских номерах и названиях запчастей. База по аналогам в данный момент не реализована. Поиска по VIN-номерам в онлайн-каталоге не предусмотрено. Выбор конкретного каталога осуществляется путем открытия нужного типа техники, марки, модели с учетом года выпуска или модификации.