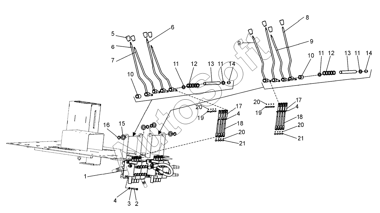
Каталог запасных частей к технике: ЧСДМ ДЗ-250 (ГМП) (2024). Система управления гидрораспределителями (ДЗ-98Н1.13.07.000, ДЗ-98Н1.13.07.000-01)

11
11
11
11
21
21
21
21
21
21
20
20
20
20
20
20
20
20
19
19
19
19
18
18
18
18
17
17
17
17
17
17
16
15
14
14
13
13
12
12
1
10
10
9
9
8
8
7
6
6
6
6
5
5
4
4
4
4
4
4
3
2
1
Позиция на иллюстрации | Заводской номер детали | Название детали | |
---|---|---|---|
1 | Д***2 | Установка гидрораспределителя | |
1 | Д***4 | Установка гидрораспределителя | |
2 | Б***9 | Болт М12-6gх50.109.019 | |
3 | Ш***9 | Шайба 12 65Г 069 | |
4 | Г***9 | Гайка М12-6H.5.019 | |
4 | Г***9 | Гайка М12-6H.5.019 | |
5 | 2***6 | Ручка | |
5 | 2***6 | Ручка | |
6 | Д***0 | Рычаг | |
6 | Д***0 | Рычаг | |
7 | Д***0 | Рычаг | |
8 | Д***1 | Рычаг | |
8 | Д***1 | Рычаг | |
9 | Д***1 | Рычаг | |
10 | Д***1 | Втулка | |
11 | 0***3 | Шайба | |
12 | Д***3 | Кольцо | |
13 | Д***2 | Ось | |
14 | 0***1 | Пружина | |
15 | К***р | Кольцо С30.Ц9.хр | |
16 | Ш***9 | Шайба C.30.02.019 | |
17 | Д***7 | Вилка | |
17 | Д***7 | Вилка | |
18 | Д***0 | Тяга | |
18 | Д***0 | Тяга | |
19 | Д***1 | Палец | |
19 | Д***1 | Палец | |
20 | Ш***9 | Шайба 5.65Г.019 | |
20 | Ш***9 | Шайба 5.65Г.019 | |
21 | Д***2 | Палец | |
21 | Д***2 | Палец |
Содержащиеся в справочниках-каталогах запасные части и детали не предлагаются к продаже, а носят исключительно информационный характер. В демо-версии артикулы (номера деталей) скрыты. Если вы хотите видеть полные оригинальные номера запчастей, вам необходимо зарегистрироваться на нашем сайте и приобрести подписку по интересующей вас конфигурации, после этого вы сможете встроить онлайн-каталоги на ваш сайт или пользоваться ими из личного кабинета нашего сайта. Обращаем ваше внимание на то, что каталоги содержат информацию об оригинальных заводских номерах и названиях запчастей. База по аналогам в данный момент не реализована. Поиска по VIN-номерам в онлайн-каталоге не предусмотрено. Выбор конкретного каталога осуществляется путем открытия нужного типа техники, марки, модели с учетом года выпуска или модификации.