Каталог запасных частей к технике: ЧСДМ ДЗ-250 (механическая) (2024). Клапан двухмагистральный (ДЗ-98М2.42.10.060)

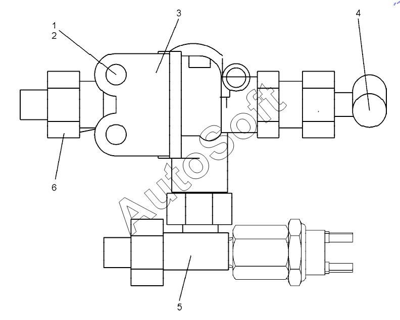
1
2
3
4
5
6
Позиция на иллюстрации | Заводской номер детали | Название детали | |
---|---|---|---|
1 | Ш***9 | Шайба 8.65Г.019 | |
2 | Б***9 | Болт М8-6gx25.58.019 | |
3 | 1***0 | Клапан двухмагистральный | |
4 | Ф***5 | Фитинг угловой 9502 12-М22х1.5 | |
5 | Т***5 | Тройник 9412 12-М12х1.5-М22х1.5 | |
6 | Ф***5 | Фитинг прямой 9512 12-М22х1.5 |
Содержащиеся в справочниках-каталогах запасные части и детали не предлагаются к продаже, а носят исключительно информационный характер. В демо-версии артикулы (номера деталей) скрыты. Если вы хотите видеть полные оригинальные номера запчастей, вам необходимо зарегистрироваться на нашем сайте и приобрести подписку по интересующей вас конфигурации, после этого вы сможете встроить онлайн-каталоги на ваш сайт или пользоваться ими из личного кабинета нашего сайта. Обращаем ваше внимание на то, что каталоги содержат информацию об оригинальных заводских номерах и названиях запчастей. База по аналогам в данный момент не реализована. Поиска по VIN-номерам в онлайн-каталоге не предусмотрено. Выбор конкретного каталога осуществляется путем открытия нужного типа техники, марки, модели с учетом года выпуска или модификации.