Каталог запасных частей к технике: ЧСДМ ДЗ-250 (механическая) (2024). Рама тяговая с отвалом (ДЗ-98.34.00.000-01)

35
24
25
25
26
27
28
29
30
31
32
33
34
23
35
36
37
38
39
40
40
41
41
42
43
44
12
2
2
2
2
2
2
3
4
5
6
7
7
7
8
9
10
11
1
13
14
15
16
17
18
19
20
21
22
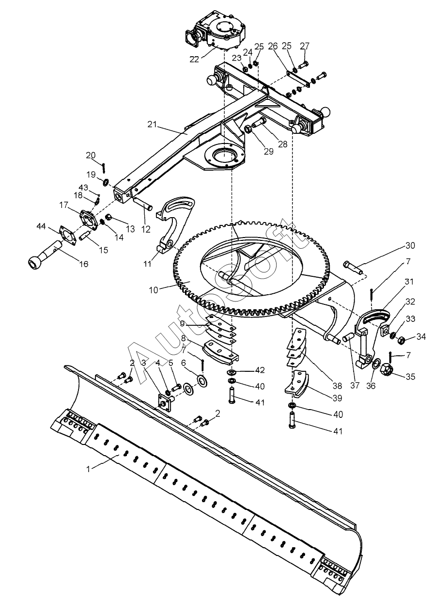
Позиция на иллюстрации | Заводской номер детали | Название детали | |
---|---|---|---|
1 | Д***0 | Отвал | |
2 | Б***9 | Болт М20-6gx40.58.019 | |
2 | Д***1 | Пробка | |
3 | Д***0 | Опора штока | |
4 | Ш***9 | Шайба 20.65Г.069 | |
5 | Б***9 | Болт М20-6gx55.58.019 | |
6 | 0***1 | Шайба | |
7 | Ш***9 | Шплинт 8х71.019 | |
8 | Д***6 | Накладка | |
9 | Д***8 | Прокладка | |
10 | Д***0 | Круг поворотный | |
11 | Д***7 | Кронштейн правый | |
12 | П***6 | Палец | |
13 | Г***9 | Гайка М24-6Н.5.019 | |
14 | Ш***9 | Шайба 24.65Г.069 | |
15 | Д***1 | Шпилька специальная | |
16 | Д***4 | Шкворень | |
17 | Д***4 | Опора шкворня | |
18 | М***6 | Масленка 2.2.45.Ц6 | |
19 | Д***6 | Кольцо | |
20 | Ш***9 | Шплинт 5х40.019 | |
21 | Д***0 | Рама тяговая | |
22 | Д***0 | Редуктор поворота отвала | |
23 | Г***) | Гайка М20-6Н.5.019(S30) | |
24 | Ш***9 | Шайба 20.65Г.069 | |
25 | Ш***9 | Шайба С20.02.019 | |
26 | В***1 | Тяга | |
27 | Б***) | Болт М20-6gx55.58.019(S30) | |
28 | Д***4 | Болт | |
29 | Г***9 | Гайка М30-6Н.5.019 | |
30 | Д***1 | Болт | |
31 | Д***0 | Кронштейн левый | |
32 | Д***5 | Шайба специальная | |
33 | Ш***9 | Шайба 30.65Г.069 | |
34 | Д***2 | Гайка | |
35 | 0***9 | Гайка | |
35 | 0***1 | Гайка | |
36 | 0***4 | Шайба | |
37 | Д***9 | Палец | |
38 | Д***5 | Прокладка | |
39 | Д***1 | Накладка | |
40 | Ш***9 | Шайба 27.65Г.069 | |
41 | Д***9 | Болт | |
42 | Д***3 | Шайба | |
43 | 2***2 | Колпачок пресс-масленки | |
44 | Д***9 | Прокладка регулировочная |
Содержащиеся в справочниках-каталогах запасные части и детали не предлагаются к продаже, а носят исключительно информационный характер. В демо-версии артикулы (номера деталей) скрыты. Если вы хотите видеть полные оригинальные номера запчастей, вам необходимо зарегистрироваться на нашем сайте и приобрести подписку по интересующей вас конфигурации, после этого вы сможете встроить онлайн-каталоги на ваш сайт или пользоваться ими из личного кабинета нашего сайта. Обращаем ваше внимание на то, что каталоги содержат информацию об оригинальных заводских номерах и названиях запчастей. База по аналогам в данный момент не реализована. Поиска по VIN-номерам в онлайн-каталоге не предусмотрено. Выбор конкретного каталога осуществляется путем открытия нужного типа техники, марки, модели с учетом года выпуска или модификации.