Каталог запасных частей к технике: ЧСДМ ДЗ-250 (механическая) (2024). Рама (ДЗ-98М1.18.00.010)

1
1
1
1
1
2
2
2
2
2
3
3
3
3
3
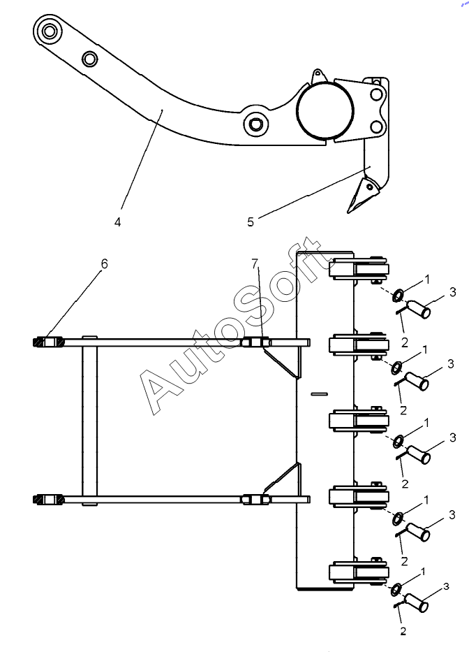
4
5
6
7
Позиция на иллюстрации | Заводской номер детали | Название детали | |
---|---|---|---|
1 | 0***9 | Шайба | |
2 | Ш***9 | Шплинт | |
3 | 0***5 | Палец | |
4 | Д***0 | Каркас рамы рыхлителя | |
5 | Д***0 | Зуб | |
6 | П***3 | Втулка | |
7 | П***4 | Втулка |
Содержащиеся в справочниках-каталогах запасные части и детали не предлагаются к продаже, а носят исключительно информационный характер. В демо-версии артикулы (номера деталей) скрыты. Если вы хотите видеть полные оригинальные номера запчастей, вам необходимо зарегистрироваться на нашем сайте и приобрести подписку по интересующей вас конфигурации, после этого вы сможете встроить онлайн-каталоги на ваш сайт или пользоваться ими из личного кабинета нашего сайта. Обращаем ваше внимание на то, что каталоги содержат информацию об оригинальных заводских номерах и названиях запчастей. База по аналогам в данный момент не реализована. Поиска по VIN-номерам в онлайн-каталоге не предусмотрено. Выбор конкретного каталога осуществляется путем открытия нужного типа техники, марки, модели с учетом года выпуска или модификации.