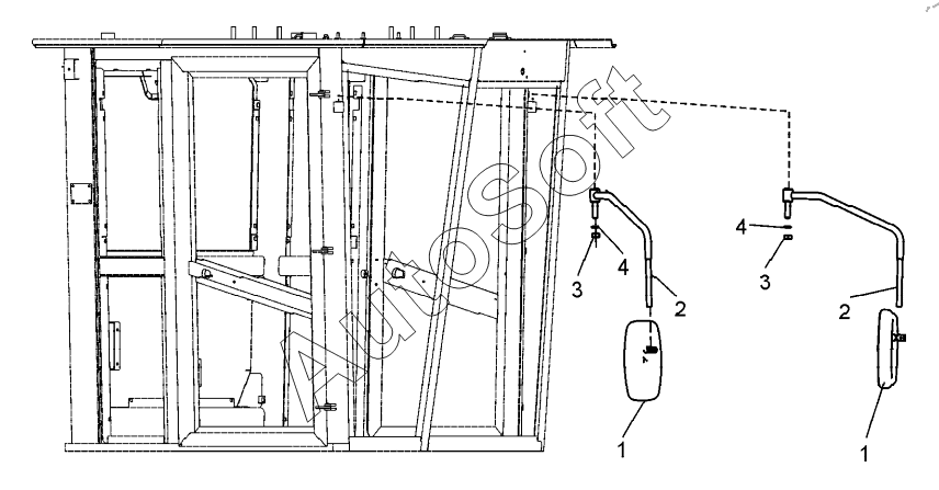
Каталог запасных частей к технике: ЧСДМ ДЗ-250 (механическая) (2024). Установка зеркал заднего вида ( ДЗ-98Н2.51.60.000)

1
1
2
2
3
3
4
4
Позиция на иллюстрации | Заводской номер детали | Название детали | |
---|---|---|---|
1 | С***1 | Зеркало заднего вида | |
2 | Д***0 | Кронштейн зеркала | |
3 | Г***9 | Гайка М20-6H.5.019 | |
4 | Ш***9 | Шайба 20 65Г 019 |
Содержащиеся в справочниках-каталогах запасные части и детали не предлагаются к продаже, а носят исключительно информационный характер. В демо-версии артикулы (номера деталей) скрыты. Если вы хотите видеть полные оригинальные номера запчастей, вам необходимо зарегистрироваться на нашем сайте и приобрести подписку по интересующей вас конфигурации, после этого вы сможете встроить онлайн-каталоги на ваш сайт или пользоваться ими из личного кабинета нашего сайта. Обращаем ваше внимание на то, что каталоги содержат информацию об оригинальных заводских номерах и названиях запчастей. База по аналогам в данный момент не реализована. Поиска по VIN-номерам в онлайн-каталоге не предусмотрено. Выбор конкретного каталога осуществляется путем открытия нужного типа техники, марки, модели с учетом года выпуска или модификации.