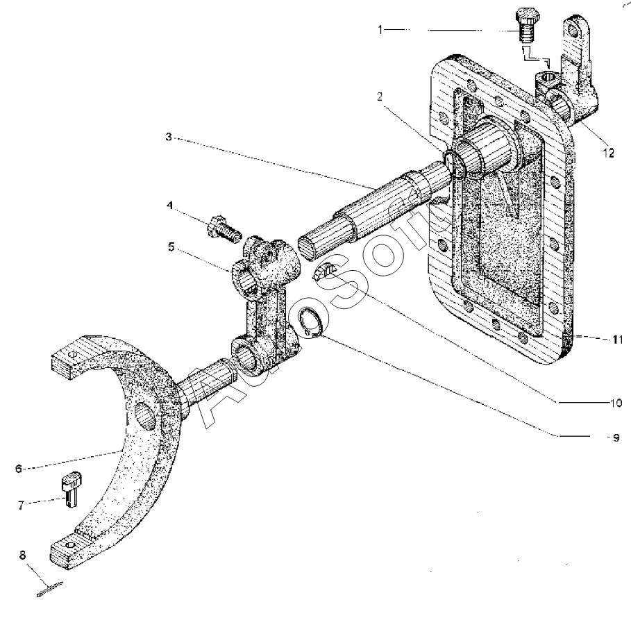
Каталог запасных частей к технике: ЧСДМ ДЗ-250 (механическая) (2024). Механизм переключения мультипликатора (Д395Б.04.100)

1
2
3
4
5
5
6
7
8
9
10
10
11
12
Позиция на иллюстрации | Заводской номер детали | Название детали | |
---|---|---|---|
1 | Б***9 | Болт М12-6gх25.58.019 | |
2 | К***2 | Кольцо 024-030-36-2-2 | |
3 | Д***9 | Вал | |
4 | Б***9 | Болт М10-6gх25.58.019 | |
5 | Д***9 | Рычаг | |
5 | Д***1 | Рычаг | |
6 | Д***0 | Вилка | |
7 | Д***1 | Сухарик | |
8 | Ш***0 | Шплинт 2х20 | |
9 | К***5 | Кольцо 1Б25 | |
10 | Д***8 | Шпонка сегментная | |
10 | Д***1 | Шпонка сегментная | |
11 | Д***5 | Крышка | |
12 | Д***0 | Рычаг |
Содержащиеся в справочниках-каталогах запасные части и детали не предлагаются к продаже, а носят исключительно информационный характер. В демо-версии артикулы (номера деталей) скрыты. Если вы хотите видеть полные оригинальные номера запчастей, вам необходимо зарегистрироваться на нашем сайте и приобрести подписку по интересующей вас конфигурации, после этого вы сможете встроить онлайн-каталоги на ваш сайт или пользоваться ими из личного кабинета нашего сайта. Обращаем ваше внимание на то, что каталоги содержат информацию об оригинальных заводских номерах и названиях запчастей. База по аналогам в данный момент не реализована. Поиска по VIN-номерам в онлайн-каталоге не предусмотрено. Выбор конкретного каталога осуществляется путем открытия нужного типа техники, марки, модели с учетом года выпуска или модификации.