Каталог запасных частей к технике: ЧСДМ ДЗ-250 (механическая) (2024). Редуктор промежуточный (ДЗ-98В.10.06.000, ДЗ-98В.10.06.000-01)

38
26
27
28
29
30
31
32
33
34
34
34
34
35
36
37
26
39
40
41
42
43
44
45
46
47
48
49
50
51
14
2
3
4
4
5
6
7
8
9
10
11
12
13
1
15
15
16
17
18
19
20
21
22
23
24
25
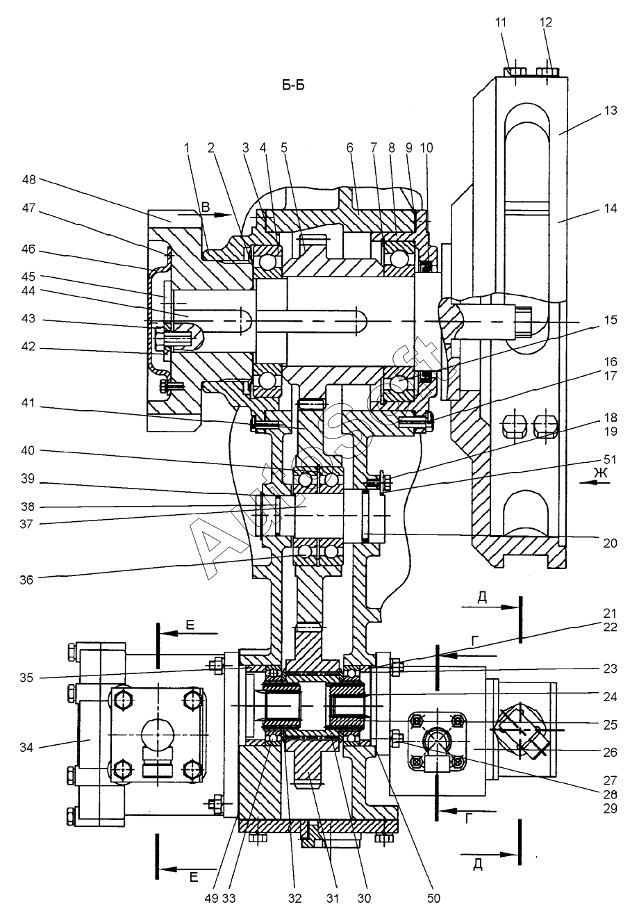
Позиция на иллюстрации | Заводской номер детали | Название детали | |
---|---|---|---|
1 | Д***1 | Крышка | |
2 | Д***7 | Маслоотражатель | |
3 | Д***9 | Прокладка | |
4 | П***9 | Подшипник 6-219 | |
4 | П***Л | Подшипник 6-219Л | |
5 | Д***5 | Шестерня | |
6 | Д***5 | Корпус | |
7 | К***0 | Кольцо С180 | |
8 | Д***6 | Крышка | |
9 | Д***8 | Прокладка | |
10 | М***1 | Манжета 2.2-110х135-1 | |
11 | 0***4 | Планка | |
12 | Г***) | Гайк а М12-6Н.5.019 (S18) | |
13 | Д***6 | Сухарик | |
14 | Д***1 | Цапфа | |
15 | П***0 | Подшипник 6-220 | |
15 | П***Л | Подшипник 6-220Л | |
16 | Д***2 | Болт | |
17 | П***С | Проволока 1.6-О-С | |
18 | Б***) | Болт М8-6gх20.58.019(S13) | |
19 | Ш***9 | Шайба 8.65Г.019 | |
20 | К***2 | Кольцо 050-060-58-2-2 | |
21 | Д***5 | Прокладка | |
22 | Д***6 | Прокладка | |
23 | 0***8 | Кольцо | |
24 | Д***1 | Кольцо | |
25 | Д***1 | Втулка | |
26 | C***0 | Гидронасос | |
26 | Н***А | Насос | |
27 | Д***4 | Шпилька | |
28 | Г***) | Гайк а М10-6Н.5.019 (S16) | |
29 | Ш***9 | Шайба 10.65Г.019 | |
30 | Д***3 | Втулка | |
31 | Д***9 | Шестерня | |
32 | Д***5 | Втулка | |
33 | П***) | Подшипник 6-111(6011) | |
34 | C***1 | Гидронасос | |
34 | Н***Л | Насос | |
35 | Д***6 | Кольцо | |
36 | П***0 | Подшипник 310 | |
37 | Д***8 | Валик | |
38 | К***2 | Кольцо 039-045-36-2-2 | |
39 | К***5 | Кольцо С45 | |
40 | К***0 | Кольцо С110 | |
41 | Д***1 | Шестерня | |
42 | Д***3 | Шайба | |
43 | Б***) | Болт М16-6gx35.58.019 (S24) | |
44 | Д***1 | Шпонка | |
45 | Д***9 | Шайба стопорная | |
46 | Д***1 | Крышка | |
47 | Д***2 | Прокладка | |
48 | Д***2 | Полумуфта внутренняя | |
49 | Д***5 | Прокладка | |
50 | Д***3 | Прокладка | |
51 | 0***9 | Кольцо | |
149 | Ш***9 | Шайба 8.6 5Г.019 |
Содержащиеся в справочниках-каталогах запасные части и детали не предлагаются к продаже, а носят исключительно информационный характер. В демо-версии артикулы (номера деталей) скрыты. Если вы хотите видеть полные оригинальные номера запчастей, вам необходимо зарегистрироваться на нашем сайте и приобрести подписку по интересующей вас конфигурации, после этого вы сможете встроить онлайн-каталоги на ваш сайт или пользоваться ими из личного кабинета нашего сайта. Обращаем ваше внимание на то, что каталоги содержат информацию об оригинальных заводских номерах и названиях запчастей. База по аналогам в данный момент не реализована. Поиска по VIN-номерам в онлайн-каталоге не предусмотрено. Выбор конкретного каталога осуществляется путем открытия нужного типа техники, марки, модели с учетом года выпуска или модификации.