Каталог запасных частей к технике: Брянский Арсенал ГС-10.07 (2019). Облицовка
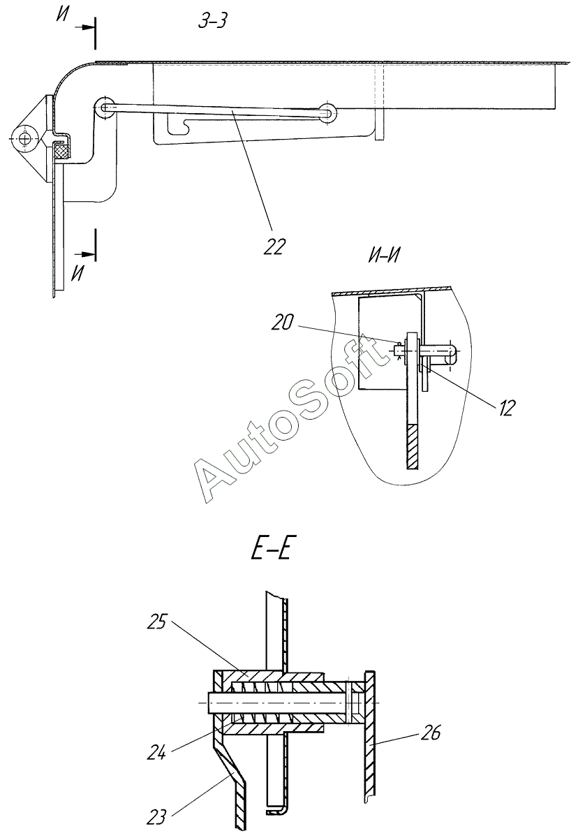
26
25
24
23
22
20
12
12
| Позиция на иллюстрации | Заводской номер детали | Название детали | |
|---|---|---|---|
| 1 | 2***1 | Крыша | |
| 2 | 2***0 | Установка топливного бака | |
| 3 | 2***0 | Щит | |
| 4 | 2***1 | Лист | |
| 5 | 2***7 | Лист | |
| 6 | 2***2 | Лист | |
| 7 | 0***2 | Втулка | |
| 8 | Б***5 | Болт | |
| 9 | В***6 | Винт | |
| 10 | Ш***Г | Шайба 6 65Г | |
| 11 | Ш***6 | Шайба С.6 | |
| 12 | 7***2 | Кронштейн | |
| 12 | Б***5 | Болт М10х25 | |
| 13 | 2***0 | Блок масляных баков | |
| 13 | Ш***Г | Шайба 10 65Г | |
| 14 | 2***3 | Лист | |
| 14 | Ш***0 | Шайба С.10 | |
| 15 | 2***4 | Лист | |
| 15 | Б***5 | Болт М12х25 | |
| 16 | Ш***Г | Шайба 12 65Г | |
| 17 | Ш***2 | Шайба | |
| 18 | 2***0 | Щит | |
| 19 | 2***5 | Палец | |
| 20 | Ш***5 | Шплинт 3,2х25 | |
| 21 | Ш***0 | Шайба С.10 | |
| 22 | 2***0 | Рычаг | |
| 23 | 2***0 | Стопор | |
| 24 | 2***1 | Пружина | |
| 25 | 2***3 | Втулка | |
| 26 | 2***0 | Ручка |
Содержащиеся в справочниках-каталогах запасные части и детали не предлагаются к продаже, а носят исключительно информационный характер. В демо-версии артикулы (номера деталей) скрыты. Если вы хотите видеть полные оригинальные номера запчастей, вам необходимо зарегистрироваться на нашем сайте и приобрести подписку по интересующей вас конфигурации, после этого вы сможете встроить онлайн-каталоги на ваш сайт или пользоваться ими из личного кабинета нашего сайта. Обращаем ваше внимание на то, что каталоги содержат информацию об оригинальных заводских номерах и названиях запчастей. База по аналогам в данный момент не реализована. Поиска по VIN-номерам в онлайн-каталоге не предусмотрено. Выбор конкретного каталога осуществляется путем открытия нужного типа техники, марки, модели с учетом года выпуска или модификации.