Каталог запасных частей к технике: Брянский Арсенал TLH 4007-12 (2023). Гидрооборудование стрелы без дивертора (с БРС). 3507-00-81.00.000-01

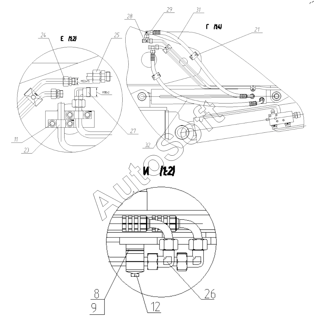
32
31
8
9
11
12
21
23
24
25
26
27
28
29
Позиция на иллюстрации | Заводской номер детали | Название детали | |
---|---|---|---|
02110000604 | 0***4 | Хомут | |
1 | 3***0 | Гидроцилиндр наклона в сборе | |
2 | 3***0 | Гидроцилиндр телескопический в сборе | |
3 | 3***0 | Гидроцилиндр стрелоподъемнный в сборе | |
4 | 3***0 | Гидроцилиндр компенсационный в сборе | |
8 | 3***1 | Планка регулировочная | |
9 | 3***1 | Планка регулировочная | |
11 | 2***4 | Болт | |
12 | 2***4 | Болт | |
21 | 2***3 | Зажим в сборе | |
22 | 2***6 | Двойной зажим в сборе 215/15PP-GD-AS-M-W3 | |
23 | 2***7 | Седельный зажим стальной DIN 1593-23.W3 | |
24 | 2***1 | Адаптер 103508 ct (прямое соединение М22 - М22) | |
25 | 2***5 | Адаптер 103520.1 ct | |
26 | 2***0 | Адаптер | |
27 | 2***6 | Адаптер 103820.1 ct (угольник M30-M30(S)) | |
28 | 2***3 | Адаптер | |
29 | 2***5 | Адаптер | |
31 | 0***0 | РВД | |
32 | 2***7 | РВД | |
35 | 2***1 | Трубопровод | |
36 | 2***2 | Трубопровод | |
37 | 2***3 | Трубопровод | |
38 | 2***4 | Трубопровод | |
39 | 2***5 | Трубопровод | |
41 | 2***6 | Трубопровод | |
43 | 3***0 | Рукав гидроцилиндра наклона | |
44 | 3***0 | Рукав дивертора | |
51 | 3***0 | Дивертор | |
55 | 3***2 | Кронштейн | |
57 | 3***1 | Штуцер | |
58 | 0***0 | Адаптер | |
59 | 2***3 | Соединение быстроразъёмное BRS | |
61 | 2***0 | Уплотнение |
Содержащиеся в справочниках-каталогах запасные части и детали не предлагаются к продаже, а носят исключительно информационный характер. В демо-версии артикулы (номера деталей) скрыты. Если вы хотите видеть полные оригинальные номера запчастей, вам необходимо зарегистрироваться на нашем сайте и приобрести подписку по интересующей вас конфигурации, после этого вы сможете встроить онлайн-каталоги на ваш сайт или пользоваться ими из личного кабинета нашего сайта. Обращаем ваше внимание на то, что каталоги содержат информацию об оригинальных заводских номерах и названиях запчастей. База по аналогам в данный момент не реализована. Поиска по VIN-номерам в онлайн-каталоге не предусмотрено. Выбор конкретного каталога осуществляется путем открытия нужного типа техники, марки, модели с учетом года выпуска или модификации.