Каталог запасных частей к технике: Брянский Арсенал TLH 3510-12 (2023). Гидрооборудование в сборе. 3507-00-40.00.000

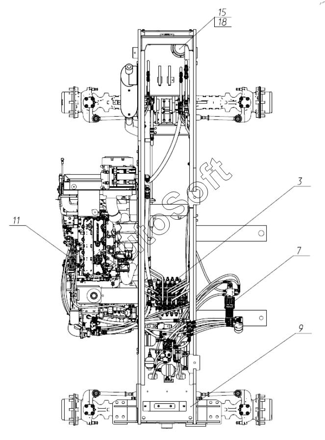
3
7
9
15
18
Позиция на иллюстрации | Заводской номер детали | Название детали | |
---|---|---|---|
02110000605 | 0***5 | Хомут пластиковый Norma 7,5х500 черный | |
3507-00-46.00.000-10 | 3***0 | Управление реверсом вентилятора | |
3 | 3***3 | Гидрооборудование рабочих органов | |
7 | 3***0 | Гидрооборудование системы управления | |
9 | 3***0 | Гидрооборудование мостов в сборе | |
15 | 0***0 | Кольцо | |
18 | 2***5 | Фильтр сливной |
Содержащиеся в справочниках-каталогах запасные части и детали не предлагаются к продаже, а носят исключительно информационный характер. В демо-версии артикулы (номера деталей) скрыты. Если вы хотите видеть полные оригинальные номера запчастей, вам необходимо зарегистрироваться на нашем сайте и приобрести подписку по интересующей вас конфигурации, после этого вы сможете встроить онлайн-каталоги на ваш сайт или пользоваться ими из личного кабинета нашего сайта. Обращаем ваше внимание на то, что каталоги содержат информацию об оригинальных заводских номерах и названиях запчастей. База по аналогам в данный момент не реализована. Поиска по VIN-номерам в онлайн-каталоге не предусмотрено. Выбор конкретного каталога осуществляется путем открытия нужного типа техники, марки, модели с учетом года выпуска или модификации.