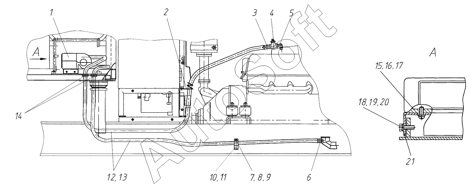
Каталог запасных частей к технике: Брянский Арсенал АГ-180 (с ГМП) (2023). Система отопления кабины 250.41.00.00.000-01

11
21
20
19
18
17
16
15
14
13
12
1
10
9
8
7
6
5
4
3
2
Позиция на иллюстрации | Заводской номер детали | Название детали | |
---|---|---|---|
1 | О***1 | Отопитель ОС-7-У2-24-21 | |
2 | 2***4 | Зацеп | |
3 | 2***6 | Ниппель | |
4 | К***0 | Кран конусный проходной Dу20 | |
5 | 2***1 | Угольник | |
6 | 2***5 | Ниппель | |
7 | Б***6 | Болт М8х16 | |
8 | Ш***Г | Шайба 8 65Г | |
9 | Ш***8 | Шайба | |
10 | 2***2 | Хомут | |
11 | 2***2 | Трубка | |
12 | 2***8 | Рукав 16х25-1,6 | |
13 | Х***7 | Хомут червячный «NORMA» 16-27 | |
14 | О***2 | Втулка | |
15 | В***0 | Винт | |
16 | Ш***Г | Шайба 5 65Г | |
17 | Ш***5 | Шайба | |
18 | Б***0 | Болт М6х20 | |
19 | Ш***Г | Шайба 6 65Г | |
20 | Ш***6 | Шайба С.6 | |
21 | 2***3 | Корыто |
Содержащиеся в справочниках-каталогах запасные части и детали не предлагаются к продаже, а носят исключительно информационный характер. В демо-версии артикулы (номера деталей) скрыты. Если вы хотите видеть полные оригинальные номера запчастей, вам необходимо зарегистрироваться на нашем сайте и приобрести подписку по интересующей вас конфигурации, после этого вы сможете встроить онлайн-каталоги на ваш сайт или пользоваться ими из личного кабинета нашего сайта. Обращаем ваше внимание на то, что каталоги содержат информацию об оригинальных заводских номерах и названиях запчастей. База по аналогам в данный момент не реализована. Поиска по VIN-номерам в онлайн-каталоге не предусмотрено. Выбор конкретного каталога осуществляется путем открытия нужного типа техники, марки, модели с учетом года выпуска или модификации.