Каталог запасных частей к технике: Брянский Арсенал TLH 3507-12 (2023). Кабина в сборе

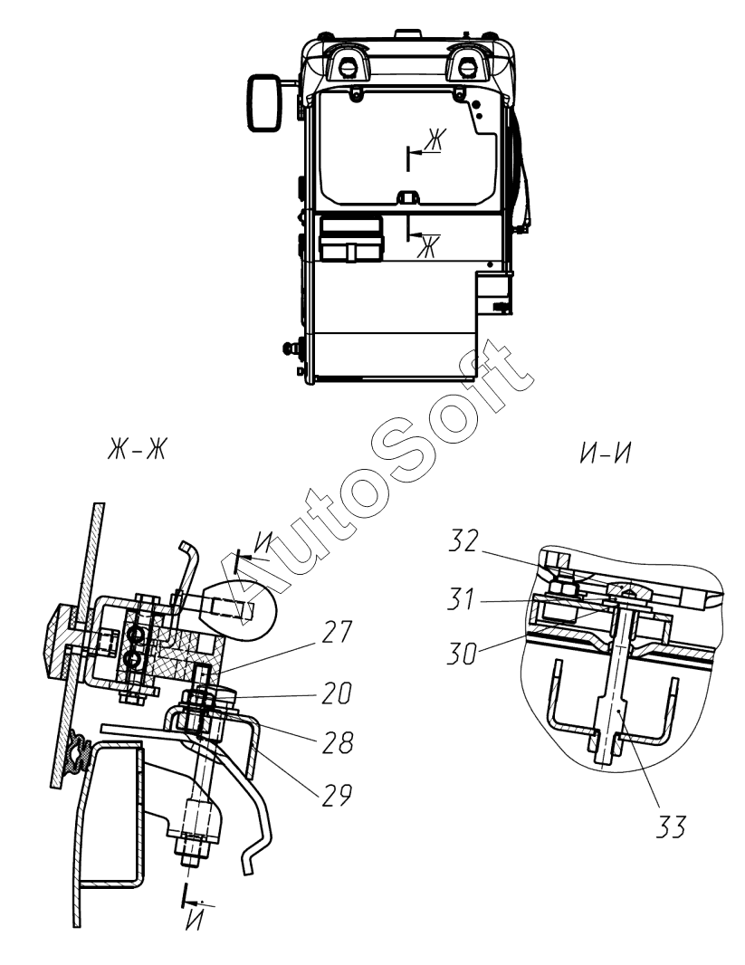
33
27
28
29
30
31
32
20
Позиция на иллюстрации | Заводской номер детали | Название детали | |
---|---|---|---|
1 | 3***0 | Металлоконструкция кабины | |
2 | 9***5 | Клинометр | |
3 | 3***0 | Установка защитной решетки на крыше кондиционера | |
4 | 3***0 | Установка заглушек стереосистемы | |
5 | 0***0 | Крючок | |
6 | 9***5 | Винт | |
7 | 9***2 | Винт | |
8 | 3***0 | Кронштейн дисплея | |
9 | 3***0 | Установка солнцезащитных элементов | |
10 | 3***0 | Установка вибро и шумо изоляции | |
11 | 3***0 | Установка внутренней облицовки | |
12 | 3***0 | Установка кронштейнов внутренней облицовки | |
13 | 3***0 | Дверь в сборе | |
14 | 5***2 | Гайка | |
15 | 9***4 | Зацеп фиксатора | |
16 | 3***0 | Установка огнетушителя | |
17 | 3***0 | Ограничитель | |
18 | 9***7 | Болт | |
19 | 9***5 | Буфер резиновый | |
20 | 5***3 | Гайка-6Н.6.016 | |
21 | 3***0 | Установка стеклоочистителей | |
22 | 3***4 | Лючок | |
23 | 9***6 | Уплотнитель самоклеющийся | |
24 | 3***0 | Выноска фарная | |
25 | 5***7 | Винт | |
26 | 3***0 | Установка грязезащитного фартука | |
27 | 3***8 | Штырь | |
28 | 5***4 | Шайба | |
29 | 3***0 | Переходник | |
30 | 9***1 | Шайба | |
31 | 5***4 | Шайба.65Г.016 | |
32 | 3***7 | Гайка | |
33 | 3***9 | Болт | |
34 | 3***6 | Уплотнитель | |
35 | 3***0 | Установка зеркала заднего вида | |
36 | 3***0 | Фиксатор стопора | |
37 | 3***0 | Уплотнитель | |
38 | 3***0 | Установка наружной облицовки | |
39 | 9***8 | Наклейка "Аварийный выход" | |
40 | 3***0 | Остекление кабины | |
41 | 8***4 | Рым-болт М12.016 | |
42 | 5***9 | Гайка |
Содержащиеся в справочниках-каталогах запасные части и детали не предлагаются к продаже, а носят исключительно информационный характер. В демо-версии артикулы (номера деталей) скрыты. Если вы хотите видеть полные оригинальные номера запчастей, вам необходимо зарегистрироваться на нашем сайте и приобрести подписку по интересующей вас конфигурации, после этого вы сможете встроить онлайн-каталоги на ваш сайт или пользоваться ими из личного кабинета нашего сайта. Обращаем ваше внимание на то, что каталоги содержат информацию об оригинальных заводских номерах и названиях запчастей. База по аналогам в данный момент не реализована. Поиска по VIN-номерам в онлайн-каталоге не предусмотрено. Выбор конкретного каталога осуществляется путем открытия нужного типа техники, марки, модели с учетом года выпуска или модификации.