Каталог запасных частей к технике: Брянский Арсенал TLH 4007-12 (2023). Гидрооборудование стрелы (без дивертора с БРС). 3507-01-81.00.000-01

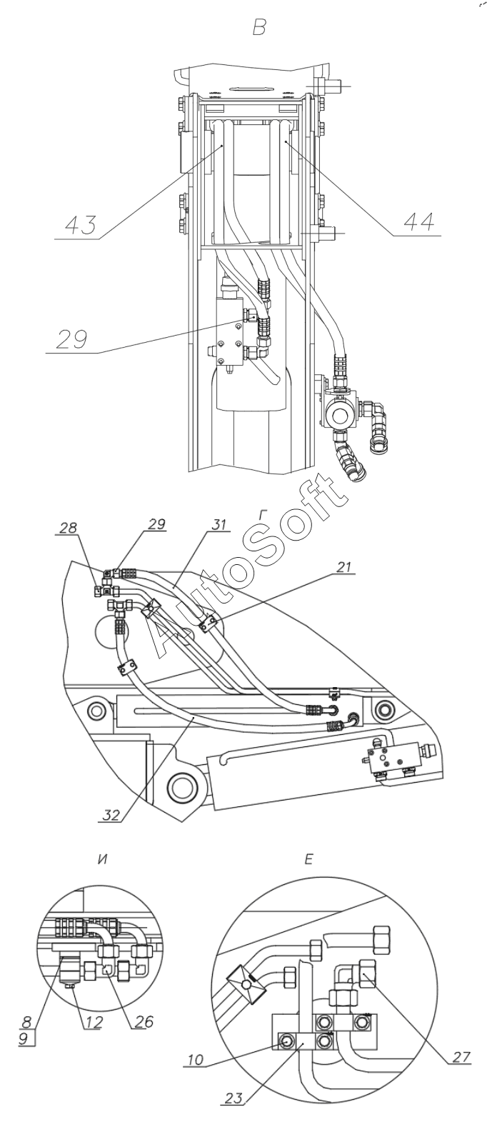
31
44
43
32
29
29
28
27
26
23
21
12
10
9
8
Позиция на иллюстрации | Заводской номер детали | Название детали | |
---|---|---|---|
9.09.00.00.088 | 9***8 | Хомут | |
1 | 3***0 | Гидроцилиндр наклона в сборе | |
2 | 3***0 | Гидроцилиндр телескопический в сборе | |
3 | 3***0 | Гидроцилиндр стрелоподъемнный в сборе | |
4 | 3***0 | Гидроцилиндр компенсационный в сборе | |
8 | 3***1 | Планка регулировочная | |
9 | 3***1 | Планка регулировочная | |
10 | 9***1 | Болт шестигранный с фланцем | |
11 | 9***5 | Болт | |
12 | 5***9 | Болт | |
21 | 9***1 | Зажим в сборе | |
22 | 9***1 | Зажим двойной в сборе | |
23 | 9***2 | Хомут усиленный | |
26 | 9***7 | Адаптер | |
27 | 9***8 | Адаптер | |
28 | 9***5 | Адаптер | |
29 | 9***3 | Адаптер | |
31 | 9***7 | Рукав в сборе РВД | |
32 | 9***8 | Рукав в сборе РВД | |
35 | 9***8 | Трубопровод | |
36 | 9***7 | Трубопровод | |
37 | 9***9 | Трубопровод | |
38 | 9***0 | Трубопровод | |
39 | 9***1 | Трубопровод | |
41 | 9***2 | Трубопровод | |
43 | 3***0 | Рукав гидроцилиндра наклона | |
44 | 3***0 | Рукав дивертора | |
55 | 3***1 | Кронштейн | |
57 | 3***1 | Штуцер | |
58 | 9***1 | Адаптер | |
59 | 9***3 | Соединение быстроразъемное | |
61 | 9***3 | Кольцо уплотнительное |
Содержащиеся в справочниках-каталогах запасные части и детали не предлагаются к продаже, а носят исключительно информационный характер. В демо-версии артикулы (номера деталей) скрыты. Если вы хотите видеть полные оригинальные номера запчастей, вам необходимо зарегистрироваться на нашем сайте и приобрести подписку по интересующей вас конфигурации, после этого вы сможете встроить онлайн-каталоги на ваш сайт или пользоваться ими из личного кабинета нашего сайта. Обращаем ваше внимание на то, что каталоги содержат информацию об оригинальных заводских номерах и названиях запчастей. База по аналогам в данный момент не реализована. Поиска по VIN-номерам в онлайн-каталоге не предусмотрено. Выбор конкретного каталога осуществляется путем открытия нужного типа техники, марки, модели с учетом года выпуска или модификации.