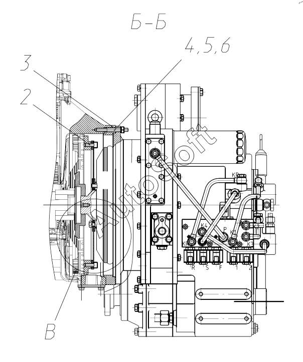
Каталог запасных частей к технике: Брянский Арсенал TLH 4007-12 (2023). Установка КПП. 3507-30-28.02.000-03

2
3
4
5
6
Позиция на иллюстрации | Заводской номер детали | Название детали | |
---|---|---|---|
1 | 9***4 | Коробка перемены передач | |
2 | 9***2 | Винт | |
3 | 5***3 | Кольцо проставочное | |
4 | 9***3 | Шпилька | |
5 | 5***7 | Гайка | |
6 | 5***1 | Шайба.65Г.016 | |
7 | 9***8 | Винт | |
8 | 3***1 | Проставка | |
9 | 3***0 | Щуп | |
10 | 9***1 | Винт | |
11 | 5***0 | Шайба.65Г.016 |
Содержащиеся в справочниках-каталогах запасные части и детали не предлагаются к продаже, а носят исключительно информационный характер. В демо-версии артикулы (номера деталей) скрыты. Если вы хотите видеть полные оригинальные номера запчастей, вам необходимо зарегистрироваться на нашем сайте и приобрести подписку по интересующей вас конфигурации, после этого вы сможете встроить онлайн-каталоги на ваш сайт или пользоваться ими из личного кабинета нашего сайта. Обращаем ваше внимание на то, что каталоги содержат информацию об оригинальных заводских номерах и названиях запчастей. База по аналогам в данный момент не реализована. Поиска по VIN-номерам в онлайн-каталоге не предусмотрено. Выбор конкретного каталога осуществляется путем открытия нужного типа техники, марки, модели с учетом года выпуска или модификации.