Каталог запасных частей к технике: Брянский Арсенал АГ-180 (с механической КПП) (2024). Установка двигателя 250.02.05.00.000-08

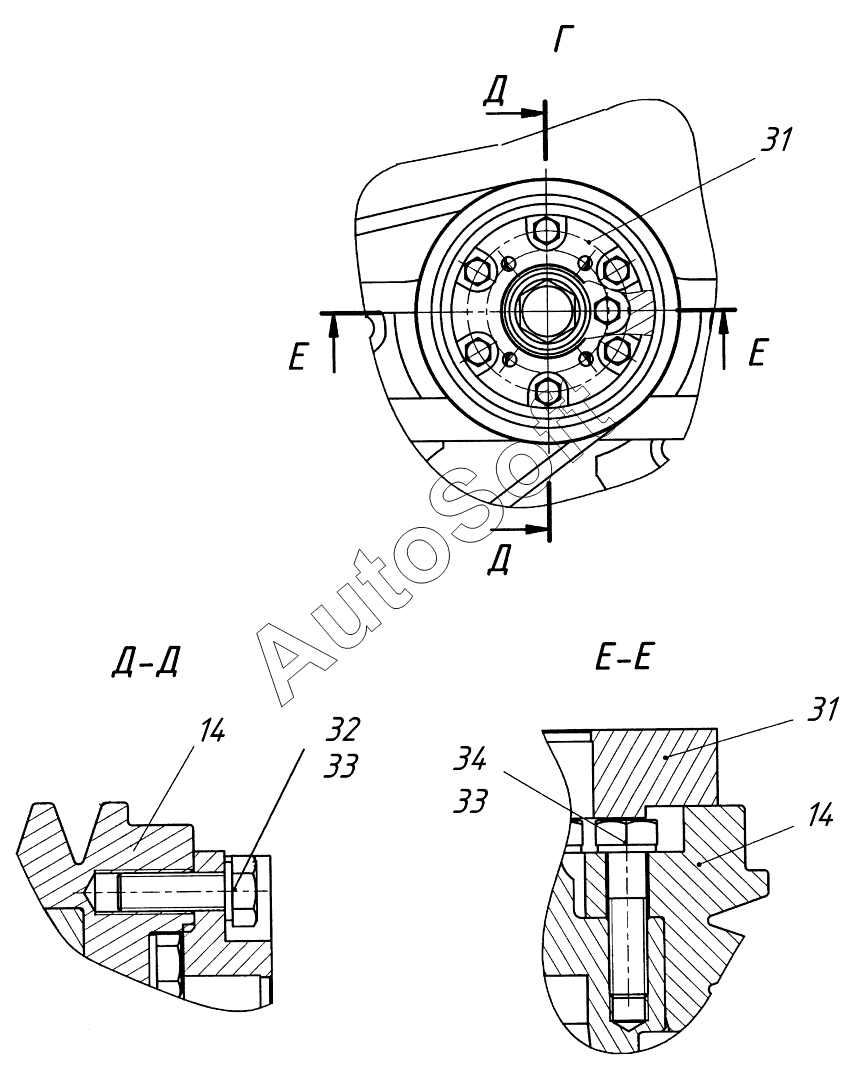
31
31
32
33
33
34
14
14
Позиция на иллюстрации | Заводской номер детали | Название детали | |
---|---|---|---|
1 | Я***3 | Двигатель | |
2 | 2***4 | Балка | |
3 | Б***6 | Болт М20-6gх120.58.016 | |
4 | Г***6 | Гайка | |
5 | Ш***. | Шайба С.20.02. | |
6 | 2***0 | Тормозок | |
7 | 2***0 | Рычаг | |
8 | Б***6 | Болт М12-6gх50.58.016 | |
9 | Г***5 | Гайка М12-6H.5 | |
10 | Х***м | Хомут пластиковый | |
11 | 2***8 | Рукав | |
12 | Х***0 | Хомут червячный 32 -50 | |
13 | L***S | Вентилятор с муфтой | |
14 | 7***2 | Шкив | |
15 | Б***6 | Болт М14-6gх70.58.016 | |
16 | 2***6 | Опора | |
17 | 6***1 | Скоба опоры двигателя | |
18 | 6***0 | Подушка | |
19 | 2***5 | Болт | |
20 | Ш***Г | Шайба 14.65Г | |
21 | 6***9 | Амортизатор | |
22 | Г***6 | Гайка | |
23 | Ш***6 | Шплинт 4х40.016 | |
24 | 2***3 | Шпилька | |
25 | Г***6 | Гайка М14-6Н.6.016 | |
26 | 2***0 | Опора | |
27 | 2***3 | Шайба | |
28 | 2***7 | Болт | |
29 | 2***0 | Амортизатор | |
30 | 2***1 | Шайба | |
31 | 7***1 | Переходник | |
32 | Б***6 | Болт М10-6gх25.109.40Х.016 | |
33 | Ш***Г | Шайба 10.65Г | |
34 | Б***6 | Болт М10-6gх35.109.40Х.016 |
Содержащиеся в справочниках-каталогах запасные части и детали не предлагаются к продаже, а носят исключительно информационный характер. В демо-версии артикулы (номера деталей) скрыты. Если вы хотите видеть полные оригинальные номера запчастей, вам необходимо зарегистрироваться на нашем сайте и приобрести подписку по интересующей вас конфигурации, после этого вы сможете встроить онлайн-каталоги на ваш сайт или пользоваться ими из личного кабинета нашего сайта. Обращаем ваше внимание на то, что каталоги содержат информацию об оригинальных заводских номерах и названиях запчастей. База по аналогам в данный момент не реализована. Поиска по VIN-номерам в онлайн-каталоге не предусмотрено. Выбор конкретного каталога осуществляется путем открытия нужного типа техники, марки, модели с учетом года выпуска или модификации.