Каталог запасных частей к технике: Брянский Арсенал АГ-180 (с механической КПП) (2024). Механизм переключения скоростей 240.30.13.01.000-01

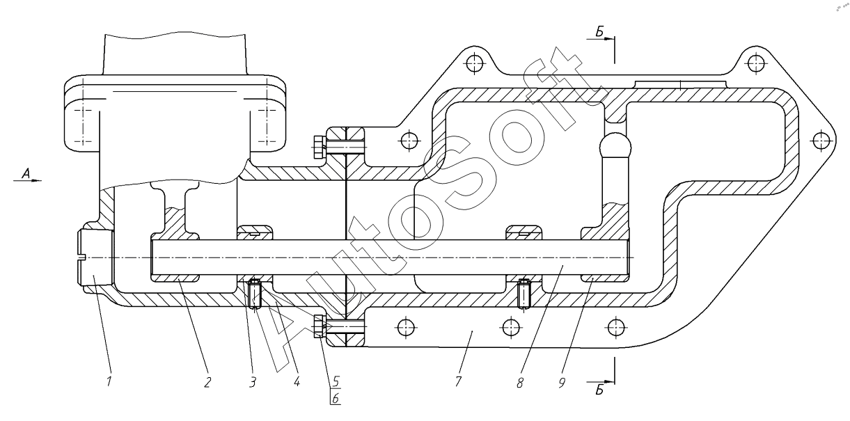
1
9
8
7
6
5
4
3
2
Позиция на иллюстрации | Заводской номер детали | Название детали | |
---|---|---|---|
1 | 2***8 | Пробка | |
2 | 2***1 | Рычаг | |
3 | 2***2 | Втулка | |
4 | 2***1 | Колено | |
5 | Б***6 | Болт М12-6gх30.46.06 | |
6 | Ш***6 | Шайба 12 65Г 06 | |
7 | 2***1 | Корпус | |
8 | 2***4 | Валик | |
9 | 2***6 | Рычаг | |
10 | 2***1 | Кулиса | |
11 | Б***6 | Болт М10-6gх30.46.06 | |
12 | Ш***Т | Шайба 10 ОТ | |
13 | 2***9 | Шпонка | |
14 | 2***6 | Штифт | |
15 | В***6 | Винт В.М8-6gх25.14Н.06 | |
16 | Б***6 | Болт М10-6gх45.46.06 | |
17 | Г***6 | Гайка М10-6Н.5.06 | |
18 | 2***0 | Упор | |
19 | 2***1 | Шайба | |
20 | В***3 | Выключатель |
Содержащиеся в справочниках-каталогах запасные части и детали не предлагаются к продаже, а носят исключительно информационный характер. В демо-версии артикулы (номера деталей) скрыты. Если вы хотите видеть полные оригинальные номера запчастей, вам необходимо зарегистрироваться на нашем сайте и приобрести подписку по интересующей вас конфигурации, после этого вы сможете встроить онлайн-каталоги на ваш сайт или пользоваться ими из личного кабинета нашего сайта. Обращаем ваше внимание на то, что каталоги содержат информацию об оригинальных заводских номерах и названиях запчастей. База по аналогам в данный момент не реализована. Поиска по VIN-номерам в онлайн-каталоге не предусмотрено. Выбор конкретного каталога осуществляется путем открытия нужного типа техники, марки, модели с учетом года выпуска или модификации.