Каталог запасных частей к технике: Брянский Арсенал АГ-180 (с механической КПП) (2024). Отвал 754.07.01.00.000

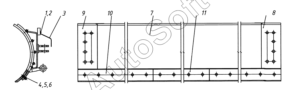
1
2
3
4
5
6
7
8
9
10
11
Позиция на иллюстрации | Заводской номер детали | Название детали | |
---|---|---|---|
1 | Б***6 | Болт М8-6gх16.58.016 | |
2 | Ш***6 | Шайба | |
3 | 2***4 | Козырек | |
4 | 2***1 | Болт | |
5 | Г***6 | Гайка М16-6H.6.016 | |
6 | Ш***6 | Шайба | |
7 | 7***0 | Отвал | |
8 | 2***3 | Нож боковой | |
9 | 2***1 | Нож | |
10 | 2***2 | Нож | |
11 | 7***2 | Нож |
Содержащиеся в справочниках-каталогах запасные части и детали не предлагаются к продаже, а носят исключительно информационный характер. В демо-версии артикулы (номера деталей) скрыты. Если вы хотите видеть полные оригинальные номера запчастей, вам необходимо зарегистрироваться на нашем сайте и приобрести подписку по интересующей вас конфигурации, после этого вы сможете встроить онлайн-каталоги на ваш сайт или пользоваться ими из личного кабинета нашего сайта. Обращаем ваше внимание на то, что каталоги содержат информацию об оригинальных заводских номерах и названиях запчастей. База по аналогам в данный момент не реализована. Поиска по VIN-номерам в онлайн-каталоге не предусмотрено. Выбор конкретного каталога осуществляется путем открытия нужного типа техники, марки, модели с учетом года выпуска или модификации.