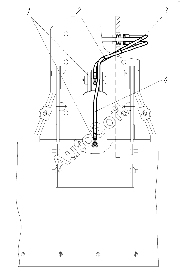
Каталог запасных частей к технике: Брянский Арсенал АГ-180 (с механической КПП) (2024). Гидросистема отвала переднего 751.21.03.00.000

1
2
3
4
Позиция на иллюстрации | Заводской номер детали | Название детали | |
---|---|---|---|
1 | T***2 | Адаптер | |
2 | Х***0 | Хомут – стяжка | |
3 | Р***) | Рукав в сборе 2SN-10-330-850-DKO- L(Г)18х1,5/12/0- DKO- L(Г)18х1,5/12/90-(ПлСп) | |
4 | Р***) | Рукав в сборе 2SN-10-330-1350-DKO- L(Г)18х1,5/12/0- DKO- L(Г)18х1,5/12/90-(ПлСп) |
Содержащиеся в справочниках-каталогах запасные части и детали не предлагаются к продаже, а носят исключительно информационный характер. В демо-версии артикулы (номера деталей) скрыты. Если вы хотите видеть полные оригинальные номера запчастей, вам необходимо зарегистрироваться на нашем сайте и приобрести подписку по интересующей вас конфигурации, после этого вы сможете встроить онлайн-каталоги на ваш сайт или пользоваться ими из личного кабинета нашего сайта. Обращаем ваше внимание на то, что каталоги содержат информацию об оригинальных заводских номерах и названиях запчастей. База по аналогам в данный момент не реализована. Поиска по VIN-номерам в онлайн-каталоге не предусмотрено. Выбор конкретного каталога осуществляется путем открытия нужного типа техники, марки, модели с учетом года выпуска или модификации.