Каталог запасных частей к технике: Брянский Арсенал АГ-180 (с механической КПП) (2024). Мост передний 237.06.00.00.000-09

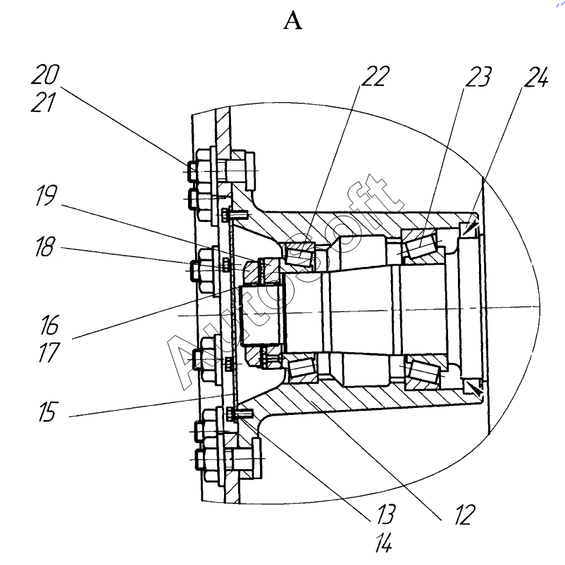
17
12
13
14
15
16
18
19
20
21
22
23
24
Позиция на иллюстрации | Заводской номер детали | Название детали | |
---|---|---|---|
1 | 2***1 | Колесо | |
2 | 2***0 | Рычаг | |
3 | 2***3 | Кулак левый | |
4 | 2***0 | Гидроцилиндр | |
5 | 2***0 | Штанга | |
6 | Г***S | Гидроцилиндр | |
7 | 7***0 | Балка | |
8 | 2***2 | Кулак правый | |
9 | 2***0 | Рычаг | |
10 | 2***1 | Втулка на шкворень | |
11 | 2***1 | Колесо | |
12 | 2***1 | Ступица | |
13 | Б***0 | Болт М8-6gх20 | |
14 | Ш***6 | Шайба | |
15 | 2***5 | Крышка | |
16 | 8***6 | Шайба | |
17 | 8***7 | Шайба | |
18 | 8***8 | Гайка | |
19 | 8***0 | Гайка | |
20 | 2***2 | Болт колесный | |
21 | Г***5 | Гайка колесная | |
22 | П***А | Подшипник 7516А | |
23 | П***К | Подшипник 7518К | |
24 | М***1 | Манжета 1.2-140х170-1-1 | |
25 | 2***7 | Крышка | |
26 | М***6 | Масленка 1.3.Ц6 | |
27 | 2***5 | Прокладка | |
28 | 2***5 | Шкворень | |
29 | П***Н | Подшипник 8211Н | |
30 | 2***7 | Сальник | |
31 | 2***6 | Крышка | |
32 | 2***8 | Сальник | |
33 | 2***5 | Штифт | |
34 | Г***Н | Гайка М12-6Н | |
35 | Ш***Г | Шайба 12 65Г | |
36 | Ш***2 | Шайба | |
37 | Г***2 | Гайка М30х2 | |
38 | Ш***3 | Шплинт 6,3х63 | |
39 | 2***0 | Втулка | |
40 | 2***9 | Ось | |
41 | 2***0 | Шайба | |
42 | 2***8 | Втулка | |
43 | 2***9 | Втулка | |
44 | 2***1 | Ось | |
45 | 2***5 | Защелка | |
46 | 2***2 | Палец | |
47 | 2***1 | Планка | |
48 | 2***1 | Палец | |
49 | Ш***6 | Шплинт 4х40.016 | |
50 | 2***2 | Палец | |
51 | 2***0 | Штанга | |
52 | 2***8 | Манжета | |
53 | 2***9 | Крышка | |
54 | Г***5 | Гайка 2М20х1,5 | |
55 | Ш***0 | Шайба С.20 | |
56 | Г***3 | Гайка М36х3 | |
57 | Ш***6 | Шайба С.36 | |
58 | Ш***1 | Шплинт 6,3х71 | |
59 | 2***2 | Ось | |
60 | Г***6 | Гайка | |
61 | Ш***0 | Шайба С.30 | |
62 | 2***4 | Крышка | |
63 | Г***2 | Гайка М24х2 | |
64 | Ш***6 | Шплинт | |
65 | Г***6 | Гайка М36-6Н.6.016 |
Содержащиеся в справочниках-каталогах запасные части и детали не предлагаются к продаже, а носят исключительно информационный характер. В демо-версии артикулы (номера деталей) скрыты. Если вы хотите видеть полные оригинальные номера запчастей, вам необходимо зарегистрироваться на нашем сайте и приобрести подписку по интересующей вас конфигурации, после этого вы сможете встроить онлайн-каталоги на ваш сайт или пользоваться ими из личного кабинета нашего сайта. Обращаем ваше внимание на то, что каталоги содержат информацию об оригинальных заводских номерах и названиях запчастей. База по аналогам в данный момент не реализована. Поиска по VIN-номерам в онлайн-каталоге не предусмотрено. Выбор конкретного каталога осуществляется путем открытия нужного типа техники, марки, модели с учетом года выпуска или модификации.