Каталог запасных частей к технике: Амкодор Т400-70 (2020). Механизм тормозной У35615-35.530
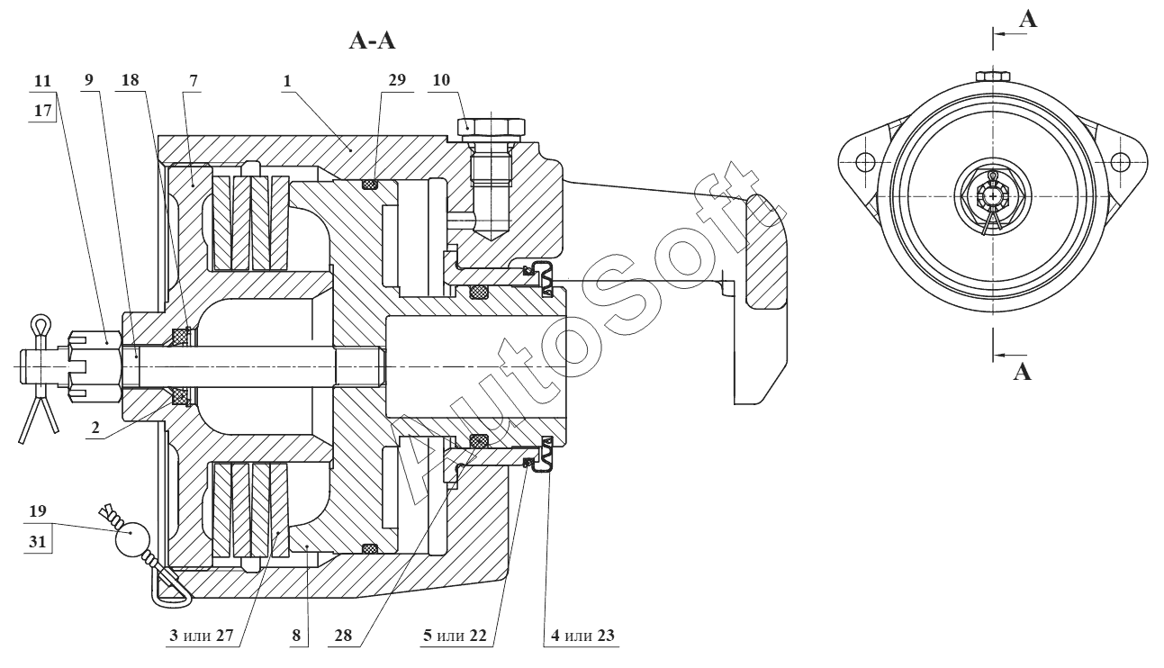
11
31
29
28
27
23
22
19
18
17
1
10
9
8
7
5
4
3
2
| Позиция на иллюстрации | Заводской номер детали | Название детали | |
|---|---|---|---|
| 1 | У***0 | Цилиндр | |
| 2 | У***2 | Манжета | |
| 3 | У***7 | Пружина тарельчатая | |
| 4 | У***8 | Колпачок защитный | |
| 5 | У***9 | Кольцо запорное | |
| 7 | У***1 | Крышка | |
| 8 | У***2 | Поршень | |
| 9 | У***3 | Шпилька | |
| 10 | У***1 | Заглушка | |
| 11 | М***5 | Гайка | |
| 17 | 3***9 | Шплинт | |
| 18 | В***2 | Кольцо | |
| 19 | 7***0 | Пломба свинцовая | |
| 22 | 2***8 | Колпачок защитный | |
| 23 | 2***8 | Колпачок защитный | |
| 27 | 1***3 | Пружина тарельчатая | |
| 28 | 3***0 | О-Кольцо | |
| 29 | 1***0 | О-Кольцо | |
| 31 | 1***I | Проволока |
Содержащиеся в справочниках-каталогах запасные части и детали не предлагаются к продаже, а носят исключительно информационный характер. В демо-версии артикулы (номера деталей) скрыты. Если вы хотите видеть полные оригинальные номера запчастей, вам необходимо зарегистрироваться на нашем сайте и приобрести подписку по интересующей вас конфигурации, после этого вы сможете встроить онлайн-каталоги на ваш сайт или пользоваться ими из личного кабинета нашего сайта. Обращаем ваше внимание на то, что каталоги содержат информацию об оригинальных заводских номерах и названиях запчастей. База по аналогам в данный момент не реализована. Поиска по VIN-номерам в онлайн-каталоге не предусмотрено. Выбор конкретного каталога осуществляется путем открытия нужного типа техники, марки, модели с учетом года выпуска или модификации.