Каталог запасных частей к технике: МоАЗ 40484-21. Установка рулевой колонки
13
24
23
22
21
20
19
18
17
16
15
14
1
12
11
10
9
8
7
6
5
4
3
2
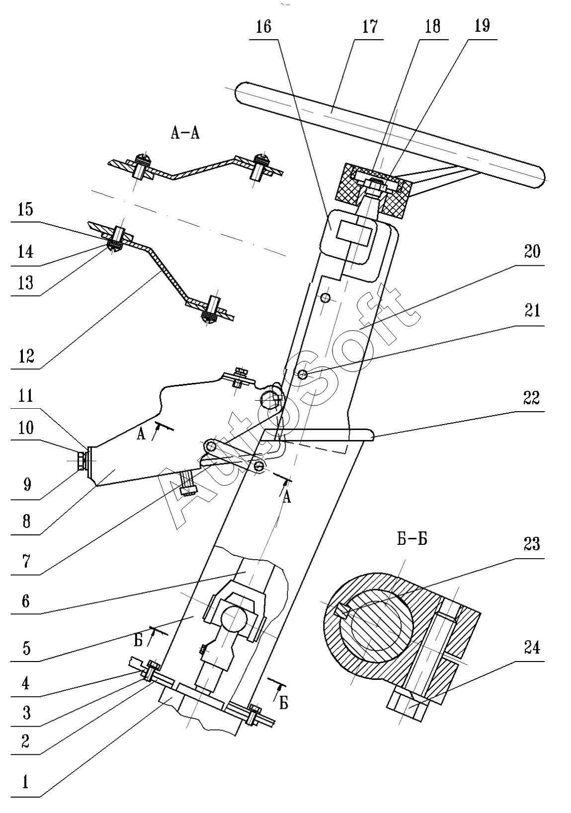
| Позиция на иллюстрации | Заводской номер детали | Название детали | |
|---|---|---|---|
| 1 | 6***0 | Руль гидравлический с арматурой | |
| 2 | 6***0 | Пластина | |
| 3 | 2***5 | Болт | |
| 4 | 2***6 | Шайба | |
| 5 | 6***0 | Кожух нижний | |
| 6 | 7***0 | Вал карданный | |
| 7 | 6***0 | Ручка | |
| 8 | 6***8 | Кронштейн с колонкой | |
| 9 | 2***6 | Болт | |
| 10 | 2***6 | Шайба | |
| 11 | 2***5 | Шайба | |
| 12 | 6***2 | Серьга | |
| 13 | 2***8 | Винт М6х22 | |
| 14 | 2***4 | Шайба | |
| 15 | 2***4 | Шайба | |
| 16 | 6***4 | Кожух верхний | |
| 17 | 8***5 | Колесо рулевое | |
| 18 | 8***2 | Крышка к рулевому колесу | |
| 19 | 2***6 | Гайка М16x1,5-6Н | |
| 20 | 6***6 | Кожух верхний | |
| 21 | 2***4 | Винт М6х14 | |
| 22 | 6***7 | Окантовка | |
| 23 | 4***2 | Шпонка | |
| 24 | 2***8 | Винт М6х22 |
Содержащиеся в справочниках-каталогах запасные части и детали не предлагаются к продаже, а носят исключительно информационный характер. В демо-версии артикулы (номера деталей) скрыты. Если вы хотите видеть полные оригинальные номера запчастей, вам необходимо зарегистрироваться на нашем сайте и приобрести подписку по интересующей вас конфигурации, после этого вы сможете встроить онлайн-каталоги на ваш сайт или пользоваться ими из личного кабинета нашего сайта. Обращаем ваше внимание на то, что каталоги содержат информацию об оригинальных заводских номерах и названиях запчастей. База по аналогам в данный момент не реализована. Поиска по VIN-номерам в онлайн-каталоге не предусмотрено. Выбор конкретного каталога осуществляется путем открытия нужного типа техники, марки, модели с учетом года выпуска или модификации.