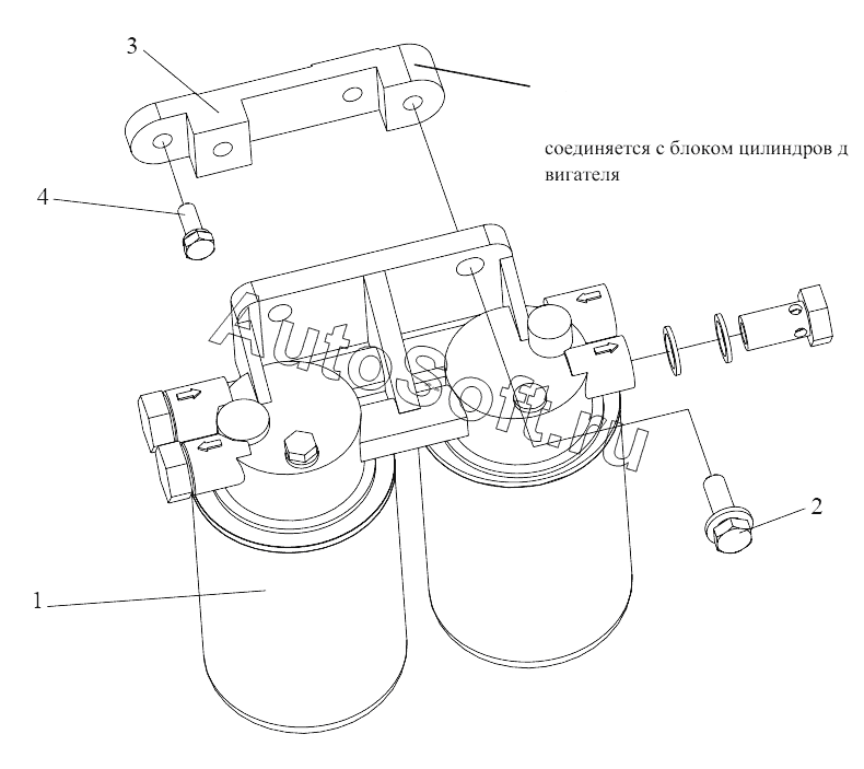
Каталог запасных частей к технике: FAW CA6DL2-37E4. Фильтр тонкой очистки топлива
1
1
1
1
1
1
2
3
3
4
| Позиция на иллюстрации | Заводской номер детали | Название детали | |
|---|---|---|---|
| 1 | 1***D | Топливный фильтр тонкой очистки в сборе | |
| 1 | 1***0 | Топливный фильтр тонкой очистки в сборе | |
| 1 | 1***D | Кронштейн фильтра | |
| 1 | 1***D | Пустотелый болт | |
| 1 | 1***D | Фильтроэлемент дизельного фильтра в сборе | |
| 1 | C***5 | Уплотнительное кольцо | |
| 2 | C***0 | Болт | |
| 3 | 1***D | Опора фильтра мелкой очистки топлива | |
| 3 | 1***0 | Стойка топливного фильтра тонкой очистки | |
| 4 | C***0 | Болт |
Содержащиеся в справочниках-каталогах запасные части и детали не предлагаются к продаже, а носят исключительно информационный характер. В демо-версии артикулы (номера деталей) скрыты. Если вы хотите видеть полные оригинальные номера запчастей, вам необходимо зарегистрироваться на нашем сайте и приобрести подписку по интересующей вас конфигурации, после этого вы сможете встроить онлайн-каталоги на ваш сайт или пользоваться ими из личного кабинета нашего сайта. Обращаем ваше внимание на то, что каталоги содержат информацию об оригинальных заводских номерах и названиях запчастей. База по аналогам в данный момент не реализована. Поиска по VIN-номерам в онлайн-каталоге не предусмотрено. Выбор конкретного каталога осуществляется путем открытия нужного типа техники, марки, модели с учетом года выпуска или модификации.