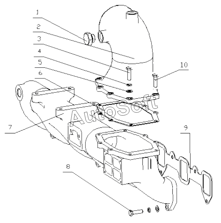
Каталог запасных частей к технике: Yuchai YC6B125-T11 (2016). 311-1008100/07 and B7615-1008500/07 Intake Pipe and Intake Connecting Pipe Part
1
2
3
4
5
6
7
8
Q150B08120TF2
6105Q-3509013
9
10
| Позиция на иллюстрации | Заводской номер детали | Название детали | |
|---|---|---|---|
| 6105Q-3509013 | 6***3 | Шайба | |
| Q150B08120TF2 | Q***2 | Bolt | |
| 1 | Q***0 | Пробка М20х1,5 | |
| 2 | B***A | Впускной патрубок | |
| 3 | Q***8 | Болт М8х28 | |
| 4 | Q***8 | Шайба 8 | |
| 5 | Q***8 | Шайба 8 | |
| 6 | B***5 | Heater gasket | |
| 7 | 6***C | Air intake manifold | |
| 8 | Q***2 | Bolt | |
| 9 | J***B | Gasket-intake pipe | |
| 10 | Q***5 | Болт M8x25 |
Содержащиеся в справочниках-каталогах запасные части и детали не предлагаются к продаже, а носят исключительно информационный характер. В демо-версии артикулы (номера деталей) скрыты. Если вы хотите видеть полные оригинальные номера запчастей, вам необходимо зарегистрироваться на нашем сайте и приобрести подписку по интересующей вас конфигурации, после этого вы сможете встроить онлайн-каталоги на ваш сайт или пользоваться ими из личного кабинета нашего сайта. Обращаем ваше внимание на то, что каталоги содержат информацию об оригинальных заводских номерах и названиях запчастей. База по аналогам в данный момент не реализована. Поиска по VIN-номерам в онлайн-каталоге не предусмотрено. Выбор конкретного каталога осуществляется путем открытия нужного типа техники, марки, модели с учетом года выпуска или модификации.