Каталог запасных частей к технике: Alfa Romeo Alfa 33 Quadrifoglio Verde (2012). Средняя часть кузова: лобовое стекло, крыша

1
1
2
2
3
4
5
6
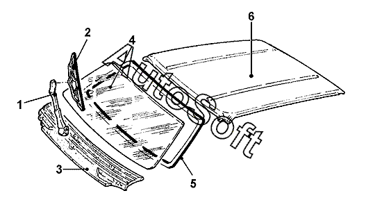
Позиция на иллюстрации | Заводской номер детали | Название детали | |
---|---|---|---|
1 | 0***3 | Рычаг стеклоочистителя прав. | |
1 | 0***3 | Рычаг стеклоочистителя лев. | |
2 | 0***0 | Щетка стеклоочистителя прав. | |
2 | 0***0 | Щетка стеклоочистителя лев. | |
3 | 0***3 | Облицовка обтекателя | |
4 | 0***9 | Стекло лобовое трехслойное тонир. | |
5 | 0***1 | Уплотнитель лобового стекла | |
6 | 0***9 | Крыша |
Содержащиеся в справочниках-каталогах запасные части и детали не предлагаются к продаже, а носят исключительно информационный характер. В демо-версии артикулы (номера деталей) скрыты. Если вы хотите видеть полные оригинальные номера запчастей, вам необходимо зарегистрироваться на нашем сайте и приобрести подписку по интересующей вас конфигурации, после этого вы сможете встроить онлайн-каталоги на ваш сайт или пользоваться ими из личного кабинета нашего сайта. Обращаем ваше внимание на то, что каталоги содержат информацию об оригинальных заводских номерах и названиях запчастей. База по аналогам в данный момент не реализована. Поиска по VIN-номерам в онлайн-каталоге не предусмотрено. Выбор конкретного каталога осуществляется путем открытия нужного типа техники, марки, модели с учетом года выпуска или модификации.