Каталог запасных частей к технике: Audi A6 Avant 2.8 quattro (2012). Дверь передняя
15
10
11
11
12
13
13
14
14
15
10
16
16
17
17
18
18
19
19
5
1
2
2
3
3
4
4
5
1
6
6
7
7
8
8
9
9
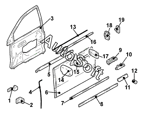
| Позиция на иллюстрации | Заводской номер детали | Название детали | |
|---|---|---|---|
| 1 | 6***C | Петля двери лев. верхн. | |
| 1 | 6***C | Петля двери прав. верхн. | |
| 2 | 4***B | Петля двери лев. нижн. | |
| 2 | 4***B | Петля прав. двери нижн. | |
| 3 | 4***C | Рама передн. лев. двери внутр. | |
| 3 | 4***C | Рама передн. прав. двери внутр. | |
| 4 | 4***C | Уплотнитель передн. лев. двери передн. | |
| 4 | 4***C | Уплотнитель передн. прав. двери передн. | |
| 5 | 4***A | Кронштейн буфера передн. прав. | |
| 5 | 4***A | Кронштейн буфера передн. лев. | |
| 6 | 4***D | Дверь передн. лев. | |
| 6 | 4***D | Дверь передн. прав. | |
| 7 | 4***U | Накладка упорная передн. лев. двери | |
| 7 | 4***U | Накладка упорная передн. прав. двери | |
| 8 | 4***L | Облицовка передн. лев. двери нижн. | |
| 8 | 4***L | Облицовка передн. прав. двери нижн. | |
| 9 | 4***5 | Скоба опоры передн. прав. двери | |
| 9 | 4***5 | Скоба опоры передн. лев. двери | |
| 10 | 4***U | Ручка передн. двери прав. | |
| 10 | 4***U | Ручка передн. двери лев. | |
| 11 | 4***U | Накладка ручки передн. лев. двери | |
| 11 | 4***U | Накладка ручки передн. прав. двери | |
| 12 | 1***D | Цилиндр передн. лев. замка | |
| 13 | 4***C | Накладка шахты передн. лев. стекла наружн. | |
| 13 | 4***C | Накладка шахты передн. прав. стекла наружн. | |
| 14 | 4***Z | Облицовка лев. зеркала | |
| 14 | 4***Z | Облицовка прав. зеркала | |
| 15 | 4***Z | Кронштейн лев. наружн. зеркала | |
| 15 | 4***Z | Кронштейн прав. наружн. зеркала | |
| 16 | 4***Z | Накладка декоративная шахты передн. прав. стекла | |
| 16 | 4***Z | Накладка декоративная шахты передн. лев. стекла | |
| 17 | 4***5 | Стекло лев. зеркала | |
| 17 | 4***C | Стекло зеркала прав. | |
| 18 | 4***G | Замок передн. лев. двери | |
| 18 | 4***G | Замок передн. прав. двери | |
| 19 | 3***T | Штырь замка передн. прав. двери | |
| 19 | 3***T | Штырь замка передн. лев. двери |
Содержащиеся в справочниках-каталогах запасные части и детали не предлагаются к продаже, а носят исключительно информационный характер. В демо-версии артикулы (номера деталей) скрыты. Если вы хотите видеть полные оригинальные номера запчастей, вам необходимо зарегистрироваться на нашем сайте и приобрести подписку по интересующей вас конфигурации, после этого вы сможете встроить онлайн-каталоги на ваш сайт или пользоваться ими из личного кабинета нашего сайта. Обращаем ваше внимание на то, что каталоги содержат информацию об оригинальных заводских номерах и названиях запчастей. База по аналогам в данный момент не реализована. Поиска по VIN-номерам в онлайн-каталоге не предусмотрено. Выбор конкретного каталога осуществляется путем открытия нужного типа техники, марки, модели с учетом года выпуска или модификации.