Каталог запасных частей к технике: Volkswagen Golf Variant TDI (2012). Дверь передняя

15
10
10
10
10
12
12
14
14
6
15
16
16
17
17
18
18
12
2
5
8
8
9
9
1
1
2
5
3
3
4
4
6
6
6
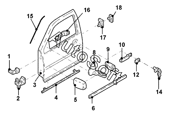
Позиция на иллюстрации | Заводской номер детали | Название детали | |
---|---|---|---|
1 | 1***C | Петля передн. лев. двери верхн. | |
1 | 1***C | Петля передн. прав. двери верхн. | |
2 | 4***B | Петля передн. лев. двери нижн. | |
2 | 4***B | Петля передн. прав. двери нижн. | |
3 | 1***H | Дверь передн. лев. | |
3 | 1***H | Дверь передн. прав. | |
4 | 1***1 | Уплотнитель передн. лев. двери нижн. | |
4 | 1***1 | Уплотнитель передн. прав. двери нижн. | |
5 | 3***U | Облицовка лев. зеркала | |
5 | 3***U | Облицовка прав. зеркала | |
6 | 1***U | Накладка упорная передн. лев. двери | |
6 | 1***1 | Накладка упорная передн. лев. двери | |
6 | 1***U | Накладка упорная передн. прав. двери | |
6 | 1***1 | Накладка упорная передн. прав. двери | |
8 | 1***C | Кронштейн лев. наружн. зеркала | |
8 | 1***C | Кронштейн прав. наружн. зеркала | |
9 | 1***C | Стекло лев. зеркала | |
9 | 1***E | Стекло зеркала прав. | |
10 | 3***Z | Ручка передн. двери прав. | |
10 | 3***Z | Ручка передн. двери лев. | |
10 | 3***U | Ручка передн. двери прав. | |
10 | 3***U | Ручка передн. двери лев. | |
12 | 3***Z | Накладка ручки передн. лев. двери | |
12 | 3***U | Накладка ручки передн. лев. двери | |
12 | 3***U | Накладка ручки передн. прав. двери | |
14 | 1***A | Цилиндр передн. лев. замка | |
14 | 1***A | Цилиндр передн. прав. замка | |
15 | 1***A | Уплотнитель передн. лев. двери верхн. | |
15 | 1***A | Уплотнитель передн. прав. двери верхн. | |
16 | 3***D | Скоба опоры передн. лев. двери | |
16 | 3***D | Скоба опоры передн. прав. двери | |
17 | 6***K | Замок передн. лев. двери | |
17 | 6***K | Замок передн. прав. двери | |
18 | 3***A | Штырь передн. прав. замка | |
18 | 3***A | Штырь передн. лев. замка |
Содержащиеся в справочниках-каталогах запасные части и детали не предлагаются к продаже, а носят исключительно информационный характер. В демо-версии артикулы (номера деталей) скрыты. Если вы хотите видеть полные оригинальные номера запчастей, вам необходимо зарегистрироваться на нашем сайте и приобрести подписку по интересующей вас конфигурации, после этого вы сможете встроить онлайн-каталоги на ваш сайт или пользоваться ими из личного кабинета нашего сайта. Обращаем ваше внимание на то, что каталоги содержат информацию об оригинальных заводских номерах и названиях запчастей. База по аналогам в данный момент не реализована. Поиска по VIN-номерам в онлайн-каталоге не предусмотрено. Выбор конкретного каталога осуществляется путем открытия нужного типа техники, марки, модели с учетом года выпуска или модификации.