Каталог запасных частей к технике: BMW M5 3.6 5'E34 МКПП (1988). Головка блока ц./промеж.часть картера
1
1
2
2
3
3
4
4
4
4
4
4
5
5
6
6
7
7
8
8
8
8
9
9
10
10
10
10
11
11
11
11
11
11
11
11
12
12
12
12
12
12
12
12
15
15
15
15
15
15
16
16
16
16
16
16
17
17
18
18
18
18
18
18
19
19
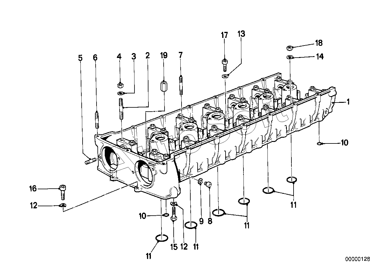
| Позиция на иллюстрации | Заводской номер детали | Название детали | |
|---|---|---|---|
| 1 | 1***9 | Корпус | |
| 2 | 0***7 | Установочный штифт | |
| 3 | 0***7 | Прокладочная шайба | |
| 4 | 0***2 | Гайка шестигранная | |
| 4 | 0***5 | Гайка шестигранная | |
| 4 | 0***6 | Гайка шестигранная | |
| 5 | 0***0 | Установочный штифт | |
| 6 | 0***3 | Установочный штифт | |
| 7 | 0***5 | Установочный штифт | |
| 8 | 0***3 | Резьбовая пробка | |
| 8 | 0***2 | Резьбовая пробка | |
| 9 | 0***3 | Уплотнительное кольцо | |
| 10 | 1***3 | Кольцо круглого сечения | |
| 11 | 1***4 | Кольцо круглого сечения | |
| 12 | 0***6 | Упругая шайба | |
| 12 | 0***9 | Упругая шайба | |
| 15 | 0***6 | Болт с шестигранной головкой | |
| 15 | 0***5 | Болт с шестигранной головкой | |
| 15 | 0***1 | Болт с шестигранной головкой с шайбой | |
| 16 | 0***3 | Болт с шестигранной головкой с шайбой | |
| 16 | 0***4 | Винт ISA | |
| 16 | 0***6 | Болт Isa с шайбой | |
| 17 | 1***7 | Болт с цилиндрической головкой с шайбой | |
| 18 | 0***2 | Гайка шестигранная | |
| 18 | 0***5 | Гайка шестигранная | |
| 18 | 0***6 | Гайка шестигранная | |
| 19 | 1***8 | Гайка шестигранная |
Содержащиеся в справочниках-каталогах запасные части и детали не предлагаются к продаже, а носят исключительно информационный характер. В демо-версии артикулы (номера деталей) скрыты. Если вы хотите видеть полные оригинальные номера запчастей, вам необходимо зарегистрироваться на нашем сайте и приобрести подписку по интересующей вас конфигурации, после этого вы сможете встроить онлайн-каталоги на ваш сайт или пользоваться ими из личного кабинета нашего сайта. Обращаем ваше внимание на то, что каталоги содержат информацию об оригинальных заводских номерах и названиях запчастей. База по аналогам в данный момент не реализована. Поиска по VIN-номерам в онлайн-каталоге не предусмотрено. Выбор конкретного каталога осуществляется путем открытия нужного типа техники, марки, модели с учетом года выпуска или модификации.