Каталог запасных частей к технике: BMW 320i 3'E30 МКПП (1988). Дверь Пд, петли/ограничитель двери

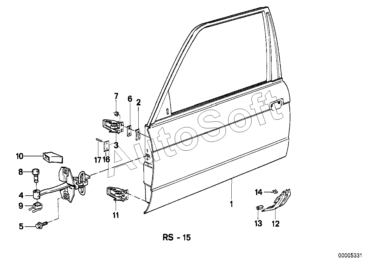
1
1
1
1
2
2
2
2
3
3
3
3
4
4
5
5
5
5
6
6
6
6
7
7
7
7
8
8
9
9
10
10
11
11
11
11
12
12
13
13
14
14
15
15
16
16
17
17
Позиция на иллюстрации | Заводской номер детали | Название детали | |
---|---|---|---|
1 | 4***3 | Дверь Л Пд | |
1 | 4***4 | Дверь П Пд | |
2 | 4***7 | Распорная шайба | |
2 | 4***1 | Распорная шайба | |
3 | 4***3 | Петля съемная Л | |
3 | 4***4 | Петля съемная П | |
4 | 4***3 | Ограничитель двери | |
5 | 0***9 | Болт с шестигранной головкой с шайбой | |
5 | 0***0 | Болт с шестигранной головкой с шайбой | |
6 | 4***7 | Распорная шайба | |
6 | 4***1 | Распорная шайба | |
7 | 0***2 | Гайка шестигранная самоконтрящаяся | |
7 | 0***5 | Гайка шестигранная самоконтрящаяся | |
8 | 5***9 | Штифт | |
9 | 5***3 | Стопорное кольцо | |
10 | 5***9 | Уплотнительная прокладка | |
11 | 4***5 | Петля съемная Л | |
11 | 4***6 | Петля съемная П | |
12 | 5***9 | Стойка | |
13 | 5***0 | Защитная окантовка | |
14 | 5***6 | Заклепка | |
15 | 4***7 | Ремонтный комплект петли | |
16 | 4***5 | Шайба с внутренней резьбой | |
17 | 4***4 | Установочный штифт |
Содержащиеся в справочниках-каталогах запасные части и детали не предлагаются к продаже, а носят исключительно информационный характер. В демо-версии артикулы (номера деталей) скрыты. Если вы хотите видеть полные оригинальные номера запчастей, вам необходимо зарегистрироваться на нашем сайте и приобрести подписку по интересующей вас конфигурации, после этого вы сможете встроить онлайн-каталоги на ваш сайт или пользоваться ими из личного кабинета нашего сайта. Обращаем ваше внимание на то, что каталоги содержат информацию об оригинальных заводских номерах и названиях запчастей. База по аналогам в данный момент не реализована. Поиска по VIN-номерам в онлайн-каталоге не предусмотрено. Выбор конкретного каталога осуществляется путем открытия нужного типа техники, марки, модели с учетом года выпуска или модификации.