Каталог запасных частей к технике: BMW 728 7'E23 АКПП (1977). Передний бампер

1
1
2
2
3
3
4
4
5
5
6
6
7
7
7
7
7
7
7
7
7
7
7
7
7
7
7
7
8
8
9
9
9
9
9
9
9
9
10
10
10
10
10
10
11
11
12
12
12
12
13
13
14
14
15
15
16
16
17
17
17
17
18
18
18
18
19
19
19
19
19
19
20
20
21
21
21
21
22
22
23
23
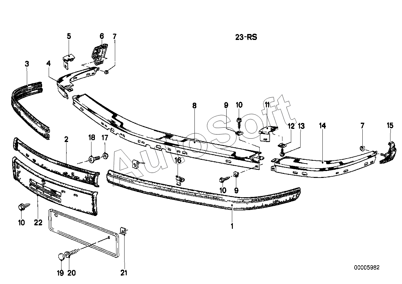
Позиция на иллюстрации | Заводской номер детали | Название детали | |
---|---|---|---|
1 | 5***1 | Защитная планка бампера Л Пд | |
2 | 5***5 | Защитная планка | |
3 | 5***2 | Защитная планка П Пд | |
4 | 5***2 | Бампер П Пд | |
5 | 5***8 | Накладка правая | |
6 | 5***2 | Наконечник П Пд | |
7 | 0***9 | Гайка шестигранная с шайбой | |
7 | 0***0 | Гайка шестигранная самоконтрящаяся | |
7 | 5***3 | Стопорная гайка | |
7 | 5***8 | Гайка шестигранная | |
8 | 5***8 | Бампер Ср Пд | |
9 | 0***4 | Листовая гайка | |
9 | 0***6 | Листовая гайка | |
10 | 0***9 | Саморез с шестигранной головкой | |
11 | 5***7 | Накладка левая | |
12 | 0***4 | Листовая гайка | |
12 | 0***0 | Листовая гайка | |
13 | 0***4 | Саморез с шестигранной головкой | |
14 | 5***1 | Бампер Л Пд | |
15 | 5***1 | Наконечник Л Пд | |
16 | 5***6 | Зажим планки | |
17 | 0***0 | Гайка шестигранная самоконтрящаяся | |
17 | 5***3 | Стопорная гайка | |
18 | 5***4 | Винт планки | |
18 | 5***0 | Винт планки | |
19 | 5***7 | Защитный колпак | |
19 | 5***4 | Защитный колпак | |
19 | 6***7 | Защитный колпак | |
20 | 5***4 | Винт самонарезающий со сферич.головкой | |
21 | 0***4 | Листовая гайка | |
21 | 0***6 | Листовая гайка | |
22 | 5***2 | Защитная планка | |
23 | 5***7 | Комплект элементов крепления |
Содержащиеся в справочниках-каталогах запасные части и детали не предлагаются к продаже, а носят исключительно информационный характер. В демо-версии артикулы (номера деталей) скрыты. Если вы хотите видеть полные оригинальные номера запчастей, вам необходимо зарегистрироваться на нашем сайте и приобрести подписку по интересующей вас конфигурации, после этого вы сможете встроить онлайн-каталоги на ваш сайт или пользоваться ими из личного кабинета нашего сайта. Обращаем ваше внимание на то, что каталоги содержат информацию об оригинальных заводских номерах и названиях запчастей. База по аналогам в данный момент не реализована. Поиска по VIN-номерам в онлайн-каталоге не предусмотрено. Выбор конкретного каталога осуществляется путем открытия нужного типа техники, марки, модели с учетом года выпуска или модификации.