Каталог запасных частей к технике: BMW 528i 5'E12 АКПП (1977). Главный тормозной цилиндр

1
1
2
2
3
3
4
4
5
5
6
6
7
7
8
8
9
9
10
10
10
10
10
10
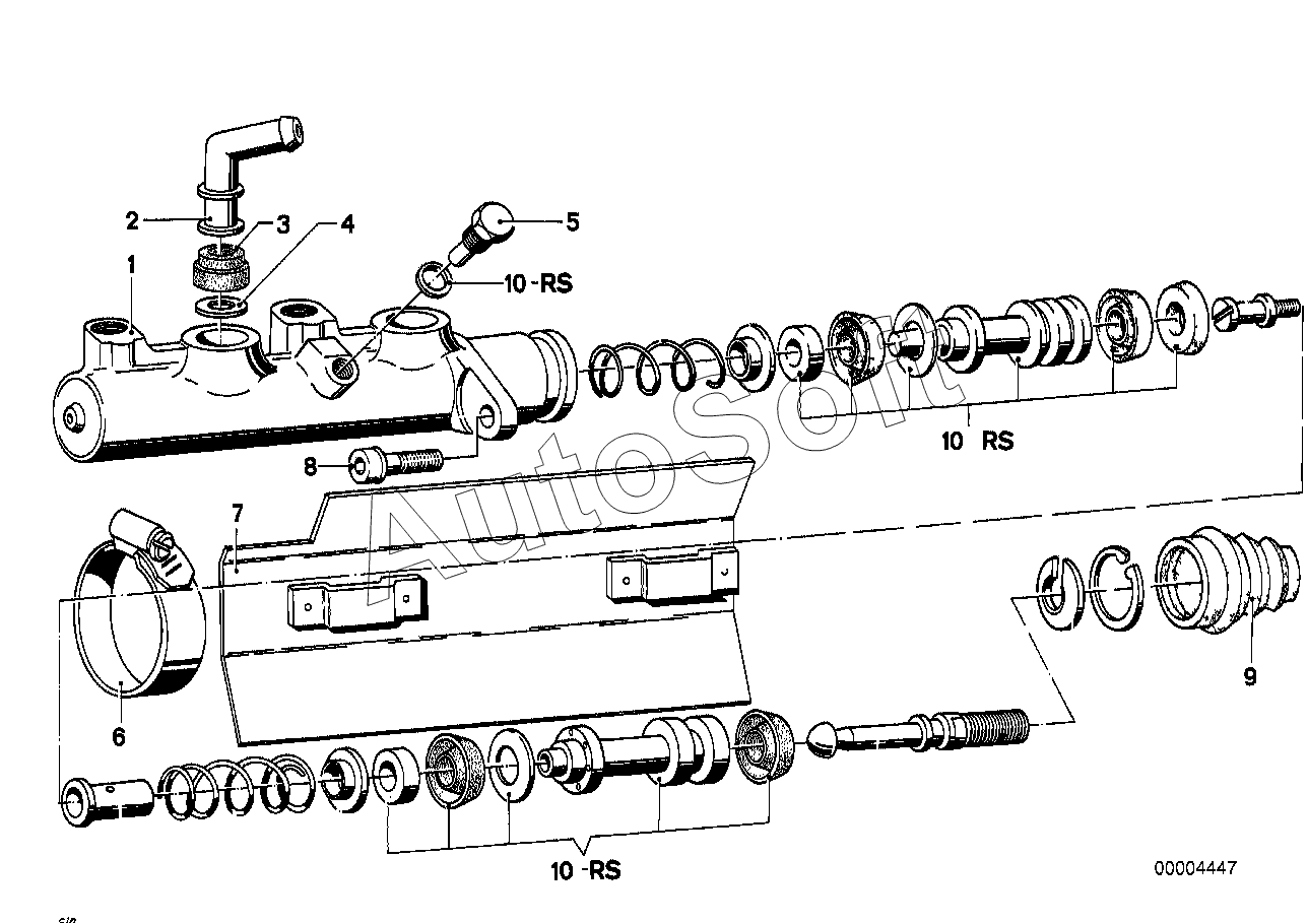
Позиция на иллюстрации | Заводской номер детали | Название детали | |
---|---|---|---|
1 | 3***2 | Главный тормозной цилиндр | |
2 | 3***3 | Соединительная деталь | |
3 | 3***5 | Пробка | |
4 | 3***2 | Прокладочная шайба | |
5 | 3***5 | Упорный винт Наруж | |
6 | 0***3 | Хомут | |
7 | 3***9 | Защитный кожух | |
8 | 0***3 | Болт с цилиндрической головкой | |
9 | 3***0 | Комплект пылезащитных колпачков | |
10 | 3***5 | Ремкомплект главн.тормозного цилиндра |
Содержащиеся в справочниках-каталогах запасные части и детали не предлагаются к продаже, а носят исключительно информационный характер. В демо-версии артикулы (номера деталей) скрыты. Если вы хотите видеть полные оригинальные номера запчастей, вам необходимо зарегистрироваться на нашем сайте и приобрести подписку по интересующей вас конфигурации, после этого вы сможете встроить онлайн-каталоги на ваш сайт или пользоваться ими из личного кабинета нашего сайта. Обращаем ваше внимание на то, что каталоги содержат информацию об оригинальных заводских номерах и названиях запчастей. База по аналогам в данный момент не реализована. Поиска по VIN-номерам в онлайн-каталоге не предусмотрено. Выбор конкретного каталога осуществляется путем открытия нужного типа техники, марки, модели с учетом года выпуска или модификации.