Каталог запасных частей к технике: BMW 528i 5'E12 АКПП (1977). Багажная дверь/детали

1
1
2
2
3
3
3
3
4
4
4
4
5
5
6
6
6
6
7
7
8
8
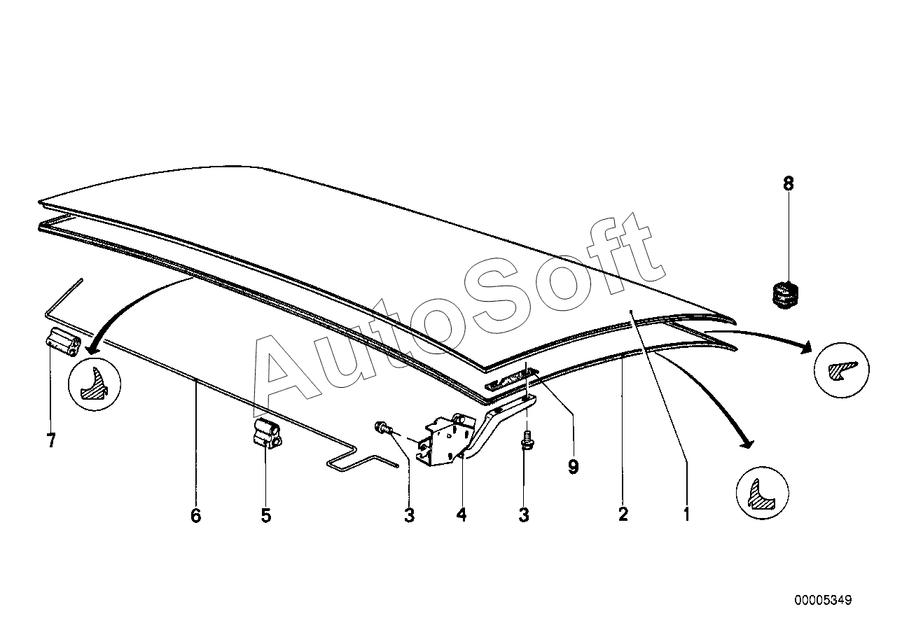
Позиция на иллюстрации | Заводской номер детали | Название детали | |
---|---|---|---|
1 | 4***9 | Багажная дверь | |
2 | 5***7 | Уплотнительный профиль | |
3 | 0***8 | Болт с шестигранной головкой с шайбой | |
4 | 4***7 | Петля Л | |
4 | 4***8 | Петля П | |
5 | 4***1 | Опора | |
6 | 4***7 | Торсионная пружина Л | |
6 | 4***8 | Торсионная пружина П | |
7 | 5***0 | Опора | |
8 | 5***7 | Упорный буфер |
Содержащиеся в справочниках-каталогах запасные части и детали не предлагаются к продаже, а носят исключительно информационный характер. В демо-версии артикулы (номера деталей) скрыты. Если вы хотите видеть полные оригинальные номера запчастей, вам необходимо зарегистрироваться на нашем сайте и приобрести подписку по интересующей вас конфигурации, после этого вы сможете встроить онлайн-каталоги на ваш сайт или пользоваться ими из личного кабинета нашего сайта. Обращаем ваше внимание на то, что каталоги содержат информацию об оригинальных заводских номерах и названиях запчастей. База по аналогам в данный момент не реализована. Поиска по VIN-номерам в онлайн-каталоге не предусмотрено. Выбор конкретного каталога осуществляется путем открытия нужного типа техники, марки, модели с учетом года выпуска или модификации.