Каталог запасных частей к технике: Ford Fiesta Festival (2012). Электрооборудование

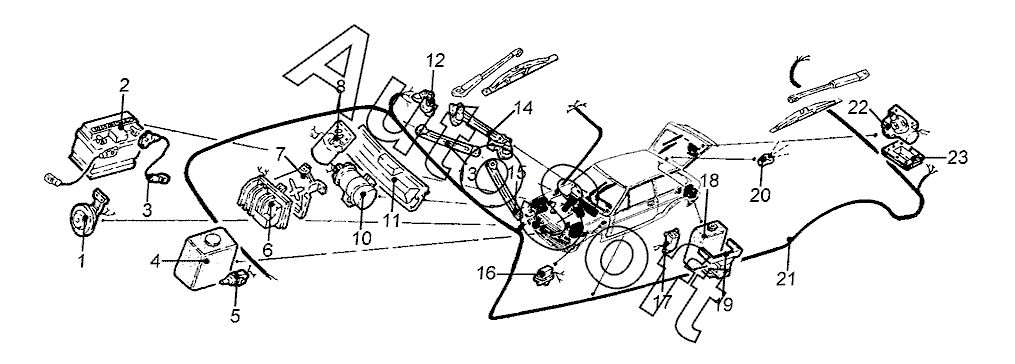
16
10
6
3
23
22
21
21
21
21
21
21
20
19
18
17
1
16
16
16
16
15
14
13
12
12
11
8
5
4
3
2
Позиция на иллюстрации | Заводской номер детали | Название детали | |
---|---|---|---|
1 | 1***1 | Сигнал звуковой | |
2 | 5***3 | Батарея аккумуляторная | |
3 | 6***7 | Провод "массы" | |
3 | 6***7 | Провод положительный | |
4 | 6***4 | Бачок омывателя | |
5 | 1***3 | Насос омывателя | |
6 | 1***2 | Блок управления системой зажигания | |
8 | 6***6 | Двигатель стеклоочистителя | |
10 | 6***1 | Катушка зажигания | |
11 | 6***1 | Облицовка стеклоочистителя | |
12 | 6***6 | Подшипник сдвоенный прав. | |
12 | 6***9 | Подшипник сдвоенный лев. | |
13 | 6***1 | Тяга привода | |
14 | 6***2 | Механизм стеклоочистителя в сборе | |
15 | 6***3 | Тяга соединительная | |
16 | 1***6 | Реле обогревателя стекла задка | |
16 | 6***1 | Реле фонаря указателя поворота | |
16 | 6***3 | Реле противотуманной фары | |
16 | 6***7 | Реле выключателя зажигания | |
16 | 6***3 | Реле фары дальнего света | |
17 | 3***8 | Насос омывателя задн. | |
18 | 6***3 | Бачок омывателя задн. | |
19 | 1***6 | Кронштейн бачка омывателя задн. | |
20 | 6***0 | Форсунка омывателя задн. | |
21 | 6***4 | Жгут проводов фары заднего хода | |
21 | 6***7 | Жгут проводов обогревателя задн. стекла | |
21 | 6***8 | Жгут проводов задн. противотуманной фары | |
21 | 6***7 | Жгут проводов фары дальнего света | |
21 | 6***6 | Жгут проводов генератора | |
21 | 6***9 | Жгут проводов в сборе | |
22 | 6***4 | Двигатель стеклоочистителя двери задка | |
23 | 1***8 | Облицовка двигателя очистителя задка |
Содержащиеся в справочниках-каталогах запасные части и детали не предлагаются к продаже, а носят исключительно информационный характер. В демо-версии артикулы (номера деталей) скрыты. Если вы хотите видеть полные оригинальные номера запчастей, вам необходимо зарегистрироваться на нашем сайте и приобрести подписку по интересующей вас конфигурации, после этого вы сможете встроить онлайн-каталоги на ваш сайт или пользоваться ими из личного кабинета нашего сайта. Обращаем ваше внимание на то, что каталоги содержат информацию об оригинальных заводских номерах и названиях запчастей. База по аналогам в данный момент не реализована. Поиска по VIN-номерам в онлайн-каталоге не предусмотрено. Выбор конкретного каталога осуществляется путем открытия нужного типа техники, марки, модели с учетом года выпуска или модификации.