Каталог запасных частей к технике: Ford Fiesta Blues (2012). Внутренняя обивка

11
26
26
27
28
29
30
31
32
6
6
10
10
25
11
15
15
16
16
5
13
13
3
8
8
18
2
2
3
4
7
9
12
14
14
17
17
1
19
20
20
21
21
22
23
23
24
24
25
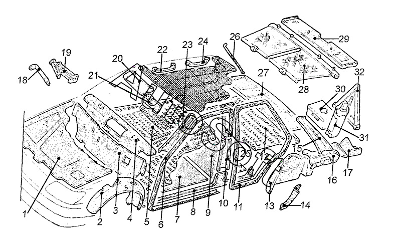
Позиция на иллюстрации | Заводской номер детали | Название детали | |
---|---|---|---|
1 | 7***9 | Шумоизоляция капота | |
2 | 1***1 | Подкрылок прав. колеса | |
2 | 1***2 | Подкрылок лев. колеса | |
3 | 1***8 | Шумоизоляция панели/щитка передка наружн. | |
3 | 1***8 | Шумоизоляция панели/щитка передка внутр. | |
4 | 1***5 | Шумоизоляция обтекателя | |
5 | 6***3 | Облицовка основания в сборе | |
6 | 1***3 | Уплотнитель передн. прав. двери | |
6 | 1***3 | Уплотнитель передн. лев. двери | |
7 | 6***9 | Изоляция основания | |
8 | 1***4 | Накладка порога двери прав. | |
8 | 1***7 | Накладка порога двери лев. | |
9 | 6***7 | Изоляция основания задн. | |
10 | 1***1 | Облицовка средн. прав. стойки нижн. | |
10 | 1***4 | Облицовка средн. лев. стойки нижн. | |
11 | 1***3 | Уплотнитель задн. прав. двери | |
11 | 1***3 | Уплотнитель задн. лев. двери | |
12 | 1***6 | Шумоизоляция пола багажника | |
13 | 6***2 | Облицовка арки задн. прав. колеса | |
13 | 6***3 | Облицовка арки задн. лев. колеса | |
14 | 6***0 | Шумоизоляция панели/щитка передка прав. | |
14 | 6***1 | Шумоизоляция панели/щитка передка лев. | |
15 | 1***1 | Облицовка задн. прав. стойки | |
15 | 6***8 | Облицовка задн. лев. стойки | |
16 | 6***5 | Опора облицовки прав. | |
16 | 6***1 | Опора облицовки лев. | |
17 | 7***7 | Облицовка боковины прав. | |
17 | 7***8 | Облицовка боковины лев. | |
18 | 6***5 | Ключ для гаек крепления колеса | |
19 | 7***6 | Домкрат | |
20 | 1***8 | Козырек солнцезащитный лев. | |
20 | 7***4 | Козырек солнцезащитный прав. | |
21 | 1***8 | Зеркало неслепящее внутр. | |
21 | 1***0 | Зеркало внутр. | |
22 | 6***2 | Ручка передн. прав. | |
23 | 1***4 | Облицовка передн. прав. стойки верхн. | |
23 | 1***7 | Облицовка передн. лев. стойки верхн. | |
24 | 6***2 | Ручка задн. прав. | |
24 | 6***2 | Ручка задн. лев. | |
25 | 1***8 | Облицовка средн. прав. стойки верхн. | |
25 | 6***2 | Облицовка средн. лев. стойки верхн. | |
26 | 1***2 | Хомут крепления задн. отделения для вещей прав. | |
26 | 1***2 | Хомут крепления задн. отделения для вещей лев. | |
27 | 7***0 | Облицовка багажника | |
28 | 1***0 | Шторка солнцезащитная стекла задка | |
29 | 1***1 | Облицовка двери задка | |
30 | 5***6 | Аптечка медицинская | |
31 | 5***9 | Огнетушитель | |
32 | 1***5 | Треугольник аварийный |
Содержащиеся в справочниках-каталогах запасные части и детали не предлагаются к продаже, а носят исключительно информационный характер. В демо-версии артикулы (номера деталей) скрыты. Если вы хотите видеть полные оригинальные номера запчастей, вам необходимо зарегистрироваться на нашем сайте и приобрести подписку по интересующей вас конфигурации, после этого вы сможете встроить онлайн-каталоги на ваш сайт или пользоваться ими из личного кабинета нашего сайта. Обращаем ваше внимание на то, что каталоги содержат информацию об оригинальных заводских номерах и названиях запчастей. База по аналогам в данный момент не реализована. Поиска по VIN-номерам в онлайн-каталоге не предусмотрено. Выбор конкретного каталога осуществляется путем открытия нужного типа техники, марки, модели с учетом года выпуска или модификации.