Каталог запасных частей к технике: Ford Fiesta Calypso (2012). Дверь передняя

16
27
27
28
28
30
30
33
33
25
25
3
3
11
11
24
16
17
17
26
26
32
32
22
22
23
23
31
4
4
10
2
5
5
6
6
7
7
8
8
9
9
10
10
10
2
11
11
14
14
15
15
18
18
19
19
21
21
24
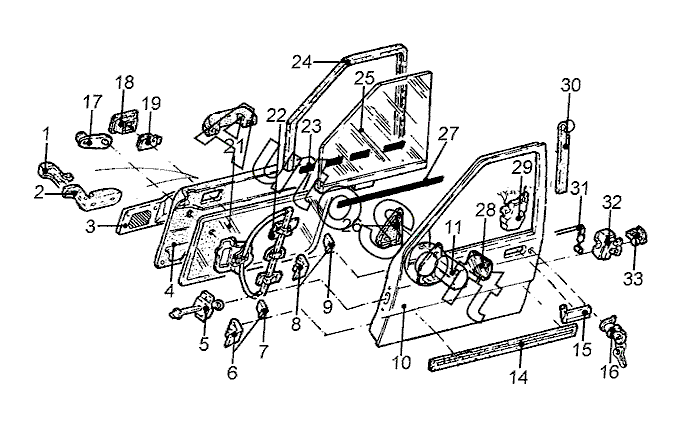
Позиция на иллюстрации | Заводской номер детали | Название детали | |
---|---|---|---|
2 | 6***4 | Подлокотник прав. | |
2 | 6***5 | Подлокотник лев. | |
3 | 7***9 | Карман на внутр. панели прав. двери | |
3 | 7***4 | Карман на внутр. панели лев. двери | |
4 | 7***9 | Облицовка лев. двери | |
4 | 7***1 | Облицовка прав. двери | |
5 | 1***7 | Ограничитель двери прав. | |
5 | 1***7 | Ограничитель двери лев. | |
6 | 6***6 | Петля двери прав. нижн. | |
6 | 6***6 | Петля двери лев. нижн. | |
7 | 6***6 | Петля двери прав. нижн. | |
7 | 6***6 | Петля двери лев. нижн. | |
8 | 6***6 | Петля двери прав. верхн. | |
8 | 6***6 | Петля двери лев. верхн. | |
9 | 6***6 | Петля двери прав. верхн. | |
9 | 6***6 | Петля двери лев. верхн. | |
10 | 7***4 | Дверь прав. | |
10 | 7***4 | Дверь прав. с петлями | |
10 | 7***5 | Дверь лев. с петлями | |
10 | 7***5 | Дверь лев. | |
11 | 1***9 | Зеркало прав. наружн. | |
11 | 1***9 | Зеркало лев. наружн. | |
11 | 1***5 | Зеркало лев. наружн. | |
11 | 1***6 | Зеркало прав. наружн. | |
14 | 1***8 | Накладка декоративная прав. двери | |
14 | 1***0 | Накладка декоративная лев. двери | |
15 | 7***9 | Ручка двери прав. наружн. | |
15 | 7***1 | Ручка двери лев. наружн. | |
16 | 1***9 | Цилиндр прав. замка | |
16 | 1***1 | Цилиндр лев. замка | |
17 | 1***8 | Ручка стеклоподъемника прав. | |
17 | 1***8 | Ручка стеклоподъемника лев. | |
18 | 7***5 | Накладка размыкающего контакта двери прав. | |
18 | 7***6 | Накладка размыкающего контакта двери лев. | |
19 | 6***6 | Контакт размыкающий двери прав. внутр. | |
19 | 6***7 | Контакт размыкающий двери лев. внутр. | |
21 | 7***9 | Шумоизоляция прав. двери | |
21 | 7***3 | Шумоизоляция двери лев. | |
22 | 1***7 | Стеклоподъемник прав. | |
22 | 1***9 | Стеклоподъемник лев. | |
23 | 7***2 | Накладка шахты стекла прав. внутр. | |
23 | 7***2 | Накладка шахты стекла лев. внутр. | |
24 | 1***8 | Направляющая стекла прав. | |
24 | 1***0 | Направляющая стекла лев. | |
25 | 1***6 | Стекло прав. двери тонир. | |
25 | 1***8 | Стекло двери лев. тонир. | |
26 | 7***9 | Облицовка прав. внутр. зеркала | |
26 | 7***1 | Облицовка лев. внутр. зеркала | |
27 | 1***2 | Накладка шахты стекла прав. наружн. | |
27 | 1***2 | Накладка шахты стекла лев. наружн. | |
28 | 6***2 | Стекло лев. наружн. зеркала | |
28 | 6***3 | Стекло прав. наружн. зеркала | |
30 | 1***7 | Накладка декоративная рамы задн. прав. двери | |
30 | 1***8 | Накладка декоративная рамы задн. лев. двери | |
31 | 1***5 | Тяга привода размыкающего контакта двери | |
32 | 7***6 | Замок лев. двери | |
32 | 7***3 | Замок прав. двери | |
33 | 1***9 | Штырь замка прав. | |
33 | 1***9 | Штырь замка лев. |
Содержащиеся в справочниках-каталогах запасные части и детали не предлагаются к продаже, а носят исключительно информационный характер. В демо-версии артикулы (номера деталей) скрыты. Если вы хотите видеть полные оригинальные номера запчастей, вам необходимо зарегистрироваться на нашем сайте и приобрести подписку по интересующей вас конфигурации, после этого вы сможете встроить онлайн-каталоги на ваш сайт или пользоваться ими из личного кабинета нашего сайта. Обращаем ваше внимание на то, что каталоги содержат информацию об оригинальных заводских номерах и названиях запчастей. База по аналогам в данный момент не реализована. Поиска по VIN-номерам в онлайн-каталоге не предусмотрено. Выбор конкретного каталога осуществляется путем открытия нужного типа техники, марки, модели с учетом года выпуска или модификации.