Каталог запасных частей к технике: Ford Fiesta Courier Family (2012). Кабина: бампер, фары, решетка радиатора, капот, крылья, лобовое стекло

8
22
22
23
24
26
26
27
27
28
21
13
13
15
15
16
16
17
17
25
10
1
2
3
3
4
5
6
7
9
1
11
12
12
14
18
19
19
20
20
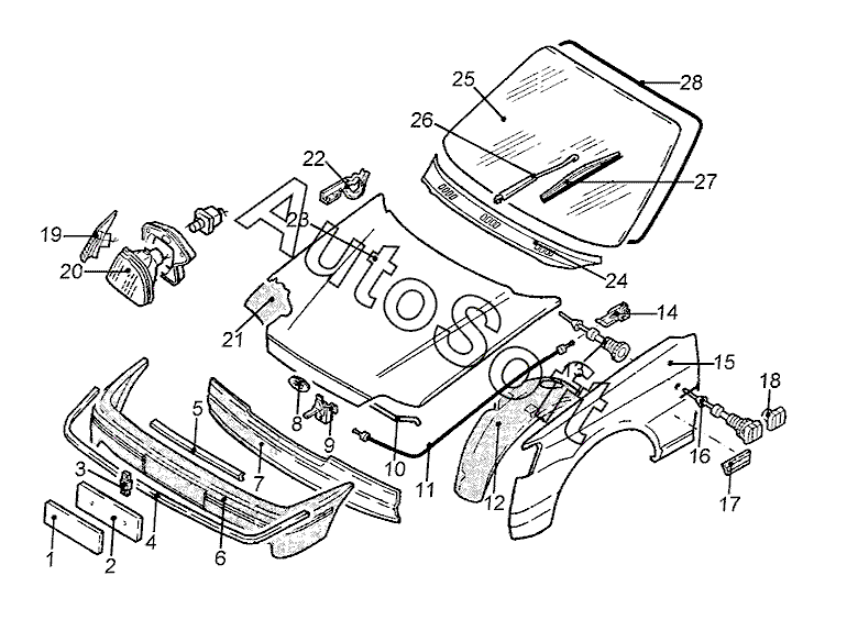
Позиция на иллюстрации | Заводской номер детали | Название детали | |
---|---|---|---|
1 | -***- | Знак номерной передн. отражающий | |
1 | -***- | Знак номерной передн. | |
2 | -***- | Усилитель крепления передн. номерного знака | |
3 | 6***4 | Кронштейн номерного знака прав. | |
3 | 6***4 | Кронштейн номерного знака лев. | |
4 | 6***7 | Накладка декоративная передн. бампера | |
5 | 6***0 | Решетка радиатора | |
6 | 1***2 | Бампер передн. | |
7 | 7***2 | Щиток камнезащитный передн. | |
8 | 7***2 | Эмблема на капоте | |
9 | 6***2 | Замок капота | |
10 | 6***2 | Опора капота | |
11 | 6***6 | Тросик открывания капота | |
12 | 1***1 | Подкрылок прав. колеса | |
12 | 1***2 | Подкрылок лев. колеса | |
13 | 7***5 | Жгут проводов прав. бокового указателя поворота | |
13 | 7***5 | Жгут проводов лев. бокового указателя поворота | |
14 | 7***5 | Ручка тяги привода замка капота | |
15 | 1***8 | Крыло передн. прав. | |
15 | 1***9 | Крыло передн. лев. | |
16 | 1***5 | Фонарь боков. повторителя указателя поворота прав. | |
16 | 1***5 | Фонарь боков. повторителя указателя поворота лев. | |
17 | 6***0 | Накладка декоративная передн. прав. крыла | |
17 | 6***3 | Накладка декоративная передн. лев. крыла | |
18 | 1***9 | Стекло боков. указателя поворота | |
19 | 1***3 | Фонарь указателя поворота прав. | |
19 | 1***5 | Фонарь указателя поворота лев. | |
20 | 1***4 | Фара прав. | |
20 | 1***0 | Фара лев. | |
21 | 7***9 | Шумоизоляция капота | |
22 | 1***9 | Петля капота передн. прав. | |
22 | 1***0 | Петля капота передн. лев. | |
23 | 7***9 | Капот | |
24 | 6***5 | Обтекатель наружн. | |
25 | 7***2 | Стекло лобовое | |
26 | 6***8 | Рычаг стеклоочистителя прав. | |
26 | 6***8 | Рычаг стеклоочистителя лев. | |
27 | 1***7 | Щетка стеклоочистителя прав. | |
27 | 1***7 | Щетка стеклоочистителя лев. | |
28 | 6***2 | Уплотнитель лобового стекла |
Содержащиеся в справочниках-каталогах запасные части и детали не предлагаются к продаже, а носят исключительно информационный характер. В демо-версии артикулы (номера деталей) скрыты. Если вы хотите видеть полные оригинальные номера запчастей, вам необходимо зарегистрироваться на нашем сайте и приобрести подписку по интересующей вас конфигурации, после этого вы сможете встроить онлайн-каталоги на ваш сайт или пользоваться ими из личного кабинета нашего сайта. Обращаем ваше внимание на то, что каталоги содержат информацию об оригинальных заводских номерах и названиях запчастей. База по аналогам в данный момент не реализована. Поиска по VIN-номерам в онлайн-каталоге не предусмотрено. Выбор конкретного каталога осуществляется путем открытия нужного типа техники, марки, модели с учетом года выпуска или модификации.