Каталог запасных частей к технике: Ford Fiesta Style (2012). Передняя часть кузова: бампер, фары, решетка радиатора

1
2
4
5
5
6
7
9
9
10
10
11
11
12
3
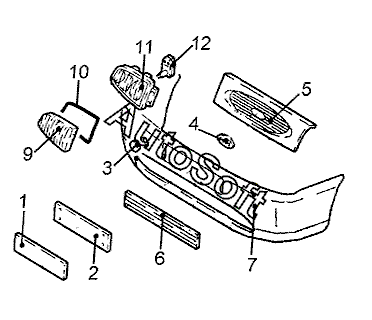
Позиция на иллюстрации | Заводской номер детали | Название детали | |
---|---|---|---|
1 | -***- | Знак номерной передн. | |
2 | -***- | Усилитель крепления передн. номерного знака | |
3 | 1***0 | Накладка буксирной проушины | |
4 | 7***3 | Эмблема на решетке радиатора | |
5 | 1***2 | Решетка радиатора | |
5 | 1***8 | Решетка радиатора | |
6 | 1***4 | Решетка передн. бампера | |
7 | 1***0 | Бампер передн. | |
9 | 1***6 | Рассеиватель лев. | |
9 | 1***0 | Рассеиватель прав. | |
10 | 1***6 | Уплотнитель рассеивателя прав. | |
10 | 1***6 | Уплотнитель рассеивателя лев. | |
11 | 1***0 | Фара прав. | |
11 | 1***2 | Фара лев. | |
12 | 1***6 | Гидрокоректор фары |
Содержащиеся в справочниках-каталогах запасные части и детали не предлагаются к продаже, а носят исключительно информационный характер. В демо-версии артикулы (номера деталей) скрыты. Если вы хотите видеть полные оригинальные номера запчастей, вам необходимо зарегистрироваться на нашем сайте и приобрести подписку по интересующей вас конфигурации, после этого вы сможете встроить онлайн-каталоги на ваш сайт или пользоваться ими из личного кабинета нашего сайта. Обращаем ваше внимание на то, что каталоги содержат информацию об оригинальных заводских номерах и названиях запчастей. База по аналогам в данный момент не реализована. Поиска по VIN-номерам в онлайн-каталоге не предусмотрено. Выбор конкретного каталога осуществляется путем открытия нужного типа техники, марки, модели с учетом года выпуска или модификации.