Каталог запасных частей к технике: Ford Fiesta 1.4 Futura (2012). Двери 1

20
14
14
16
16
17
17
18
18
19
19
20
14
21
21
22
22
23
23
25
25
24
24
8
1
2
2
3
3
4
4
5
5
7
7
1
8
9
9
11
11
12
12
12
12
14
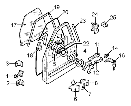
Позиция на иллюстрации | Заводской номер детали | Название детали | |
---|---|---|---|
1 | 1***5 | Ограничитель двери прав. | |
1 | 1***5 | Ограничитель двери лев. | |
2 | 1***2 | Петля прав. двери нижн. | |
2 | 1***3 | Петля двери лев. нижн. | |
3 | 1***0 | Петля двери прав. верхн. | |
3 | 1***1 | Петля двери лев. верхн. | |
4 | 1***0 | Дверь передн. прав. | |
4 | 1***1 | Дверь передн. лев. | |
5 | 1***8 | Облицовка зеркала прав. наружн. | |
5 | 1***0 | Облицовка зеркала лев. наружн. | |
7 | 1***2 | Зеркало прав. наружн. | |
7 | 1***4 | Зеркало лев. наружн. | |
8 | 1***0 | Стекло прав. наружн. зеркала | |
8 | 1***2 | Стекло лев. наружн. зеркала | |
9 | 1***7 | Накладка декоративная передн. прав. двери | |
9 | 1***8 | Накладка декоративная передн. лев. двери | |
11 | 1***1 | Кронштейн ручки передн. прав. двери | |
11 | 1***3 | Кронштейн ручки передн. лев. двери | |
12 | 1***7 | Ручка двери прав. наружн. | |
12 | 1***7 | Ручка двери лев. наружн. | |
12 | 1***1 | Ручка двери прав. наружн. | |
12 | 1***1 | Ручка двери лев. наружн. | |
14 | 1***7 | Накладка ручки передн. прав. двери | |
14 | 1***7 | Накладка ручки передн. лев. двери | |
14 | 1***1 | Накладка ручки передн. прав. двери | |
14 | 1***1 | Накладка ручки передн. лев. двери | |
16 | 4***9 | Цилиндр прав. замка | |
16 | 4***0 | Цилиндр лев. замка | |
17 | 1***2 | Стекло передн. прав. двери | |
17 | 1***3 | Стекло передн. лев. двери | |
18 | 1***2 | Облицовка прав. внутр. зеркала | |
18 | 1***3 | Облицовка лев. внутр. зеркала | |
19 | 1***6 | Направляющая стекла передн. прав. двери | |
19 | 1***7 | Направляющая стекла передн. лев. двери | |
20 | 1***2 | Уплотнитель передн. прав. двери | |
20 | 1***3 | Уплотнитель передн. лев. двери | |
21 | 1***0 | Кронштейн замка прав. | |
21 | 1***2 | Кронштейн замка лев. | |
22 | 1***4 | Накладка шахты передн. прав. стекла наружн. | |
22 | 1***4 | Накладка шахты передн. лев. стекла наружн. | |
23 | 1***3 | Накладка декоративная рамки стекла двери прав. | |
23 | 1***4 | Накладка декоративная рамки двери передн. лев. | |
24 | 1***2 | Замок прав. двери | |
24 | 1***7 | Замок лев. двери | |
25 | 1***4 | Штырь замка прав. | |
25 | 1***4 | Штырь замка лев. |
Содержащиеся в справочниках-каталогах запасные части и детали не предлагаются к продаже, а носят исключительно информационный характер. В демо-версии артикулы (номера деталей) скрыты. Если вы хотите видеть полные оригинальные номера запчастей, вам необходимо зарегистрироваться на нашем сайте и приобрести подписку по интересующей вас конфигурации, после этого вы сможете встроить онлайн-каталоги на ваш сайт или пользоваться ими из личного кабинета нашего сайта. Обращаем ваше внимание на то, что каталоги содержат информацию об оригинальных заводских номерах и названиях запчастей. База по аналогам в данный момент не реализована. Поиска по VIN-номерам в онлайн-каталоге не предусмотрено. Выбор конкретного каталога осуществляется путем открытия нужного типа техники, марки, модели с учетом года выпуска или модификации.