Каталог запасных частей к технике: Ford Escort C (2012). Система охлаждения

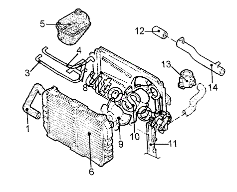
1
1
4
5
6
6
8
9
10
12
14
3
13
Позиция на иллюстрации | Заводской номер детали | Название детали | |
---|---|---|---|
1 | 1***6 | Шланг радиатора верхн. | |
1 | 6***8 | Шланг радиатора нижн. | |
3 | 6***8 | Шланг притока | |
4 | 1***1 | Шланг отводящий | |
5 | 6***3 | Бачок расширительный | |
6 | 1***7 | Радиатор | |
6 | 6***3 | Радиатор восстановл. | |
8 | 6***7 | Воздуховод | |
9 | 6***8 | Вентилятор | |
10 | 1***9 | Вентилятор с двигателем | |
12 | 1***8 | Надставка водяной трубки | |
13 | 6***2 | Корпус термостата | |
14 | 6***9 | Труба водяная |
Содержащиеся в справочниках-каталогах запасные части и детали не предлагаются к продаже, а носят исключительно информационный характер. В демо-версии артикулы (номера деталей) скрыты. Если вы хотите видеть полные оригинальные номера запчастей, вам необходимо зарегистрироваться на нашем сайте и приобрести подписку по интересующей вас конфигурации, после этого вы сможете встроить онлайн-каталоги на ваш сайт или пользоваться ими из личного кабинета нашего сайта. Обращаем ваше внимание на то, что каталоги содержат информацию об оригинальных заводских номерах и названиях запчастей. База по аналогам в данный момент не реализована. Поиска по VIN-номерам в онлайн-каталоге не предусмотрено. Выбор конкретного каталога осуществляется путем открытия нужного типа техники, марки, модели с учетом года выпуска или модификации.