Каталог запасных частей к технике: Ford Escort Plus (2012). Люк крыши

1
2
4
5
6
7
8
8
9
9
10
3
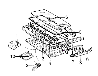
Позиция на иллюстрации | Заводской номер детали | Название детали | |
---|---|---|---|
1 | 6***9 | Облицовка привода | |
2 | 7***9 | Ручка крышки сдвижного люка крыши | |
3 | 1***4 | Облицовка крышки сдвижного люка крыши | |
4 | 1***0 | Рама крышки сдвижного люка крыши | |
5 | 6***0 | Крышка сдвижного люка крыши | |
6 | 6***7 | Уплотнитель крышки сдвижного люка крыши | |
7 | 6***0 | Уплотнитель проема люка крыши | |
8 | 6***3 | Направляющая сдвижного люка крыши прав. | |
8 | 6***4 | Направляющая сдвижного люка крыши лев. | |
9 | 6***9 | Кулиса крышки сдвижного люка прав. | |
9 | 6***0 | Кулиса крышки сдвижного люка лев. | |
10 | 1***5 | Накладка кривошипа |
Содержащиеся в справочниках-каталогах запасные части и детали не предлагаются к продаже, а носят исключительно информационный характер. В демо-версии артикулы (номера деталей) скрыты. Если вы хотите видеть полные оригинальные номера запчастей, вам необходимо зарегистрироваться на нашем сайте и приобрести подписку по интересующей вас конфигурации, после этого вы сможете встроить онлайн-каталоги на ваш сайт или пользоваться ими из личного кабинета нашего сайта. Обращаем ваше внимание на то, что каталоги содержат информацию об оригинальных заводских номерах и названиях запчастей. База по аналогам в данный момент не реализована. Поиска по VIN-номерам в онлайн-каталоге не предусмотрено. Выбор конкретного каталога осуществляется путем открытия нужного типа техники, марки, модели с учетом года выпуска или модификации.